With so many construction projects happening in Disney World right now, there are patents coming out like WILD.
Don’t worry, we’re keeping track of them all so you don’t have to! This most recent patent, though? Well, this isn’t totally what we were expecting to see, but this new patent could reveal some interesting technology changes throughout the parks. While there’s no confirmation just yet on where this patent could potentially be applied, it’s for sure that it WOULD change how things work in the parks!
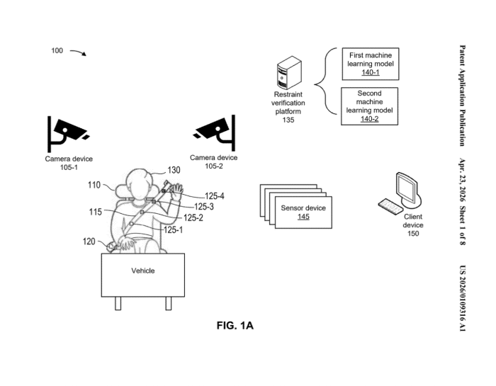
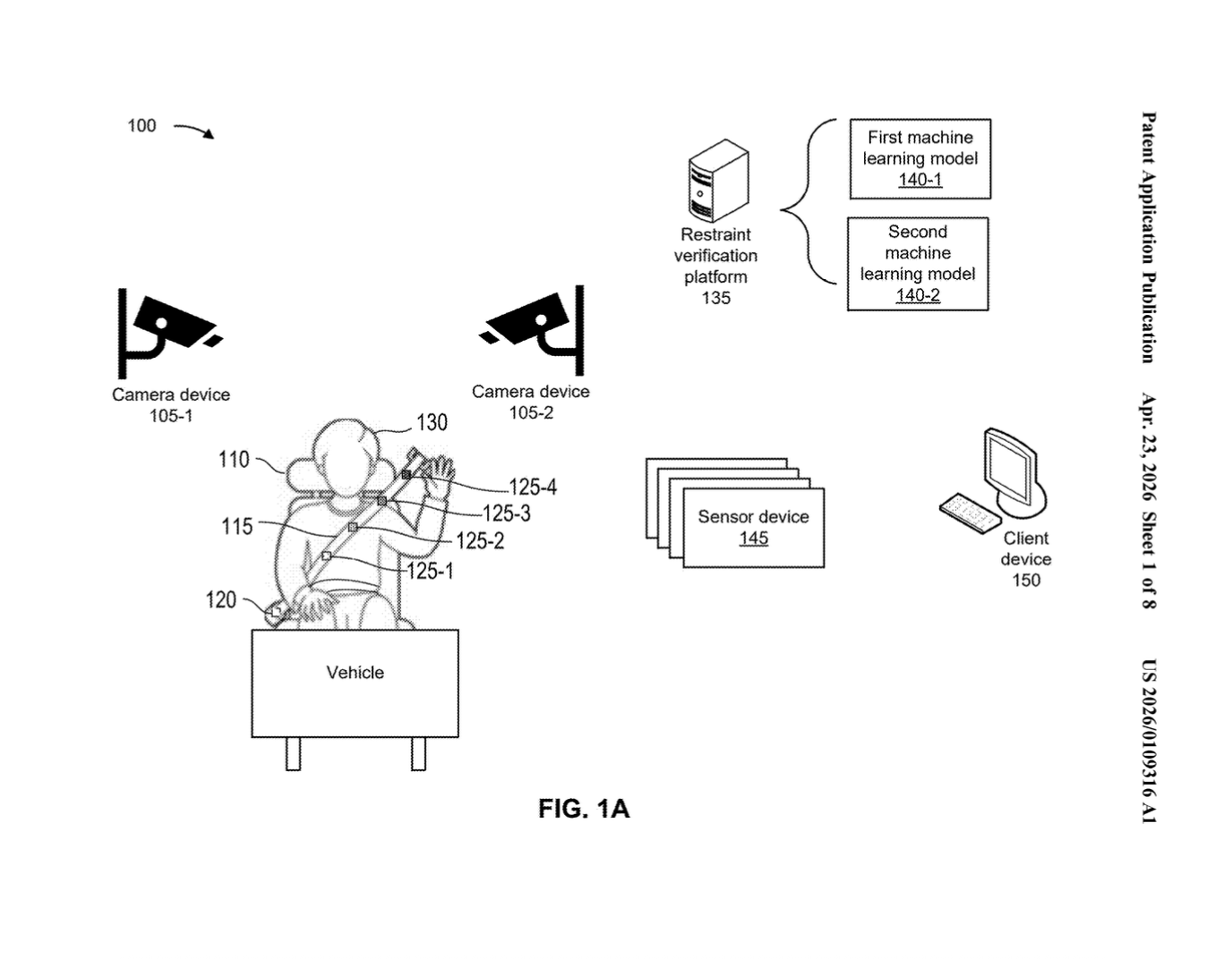
Disney’s new patent, published on April 23, 2026, is US Patent Application US 2026/0109316 A1, which details a new AI system that could help verify passengers’ restraints are properly in place. Described as “System and Method for Verifying Proper Usage of Passenger Restraints” in the patent, the AI would use video cameras combined with machine learning models to analyze whether a passenger restraint system is properly in place. This would account for lap restraints, over-the-shoulder restraints, or seat belt.
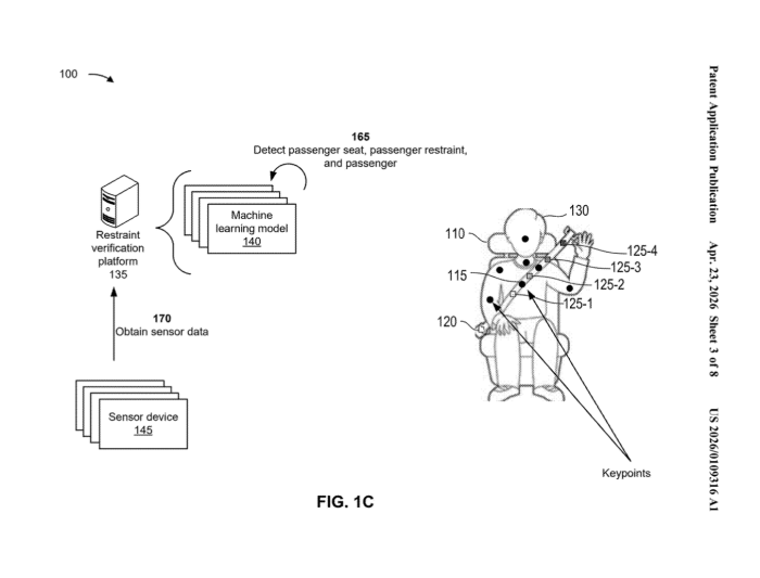
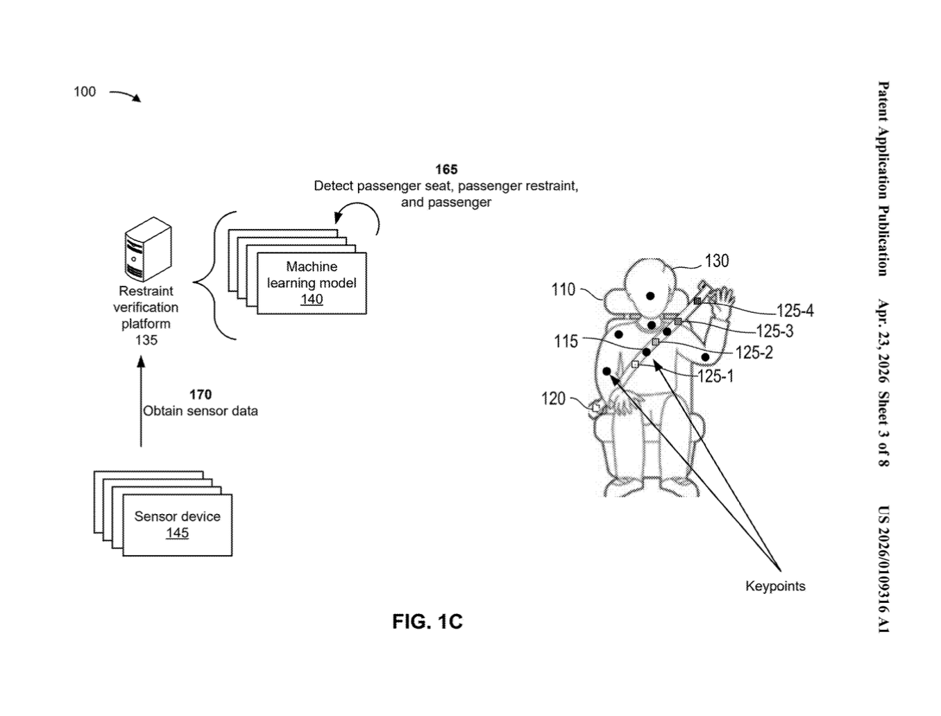
Currently, Cast Members check each and every restraint themselves, which takes time when loading. With this new system, it would drastically reduce the amount of time it takes for a ride car or vehicle to be cleared to begin. The technology would work by capturing continuous video of each passenger seat during the loading process, and then a restraint verification platform would analyze that footage using multiple machine learning models trained to detect the rider’s body position and size, the restraint being used, and if it’s properly locked.
This system is also designed to detect improper use that human operators might miss, such as when a guest is sitting on the seatbelt instead of using it properly, or if the seatbelt has been extended more than it should be. In addition to the video, the system would rely on video analytics with data from additional sensors, such as sensors that check if a guest is seated, check if a restraint is locked, and a rotary encoder device that measures the physical length of the extended seatbelt.
We’ll have to wait and see if this technology makes its way into the parks, but even if it does, we could be waiting a hot second, as if often takes patents time to be approved and make their way into being used. We’ll be sure to keep you updated every step of the way, so stay tuned to DFB!
Disney Fans Are Panic-Buying This Amazon Item Before Summer Break
Join the DFB Newsletter to get all the breaking news right in your inbox! Click here to Subscribe!
WE KNOW DISNEY.
YOU CAN, TOO.
Oh boy, planning a Disney trip can be quite the adventure, and we totally get it! But fear not, dear friends, we compiled EVERYTHING you need (and the things to avoid!) to plan the ULTIMATE Disney vacation.
Whether you're a rookie or a seasoned pro, our insider tips and tricks will have you exploring the parks like never before. So come along with us, and get planning your most magical vacation ever!
How do you feel about this potential new addition? Tell us in the comments!





Our handy (and portable!) ebook guides make sure you get the best deals and can plan a vacation of a lifetime.

TRENDING NOW
We're breaking down some of the best Disney finds at ALDI this week!
One of AJ's favorite rides in the WORLD is closing, and we are distraught!
This Might Be Our New FAVORITE Disney Essential For The Summer!
We're breaking down the ultimate Lightning Lane strategy for a visit to Disney's Hollywood Studios!
We've compiled the best times to go to Disney World for completely free!
Disney World has reported two ride injuries so far in 2026.
Two more Annual Passholder perks are coming to Disney World soon!
Rock 'n' Roller Coaster is gray now, and we're here for it!
A Disney World hotel restaurant will see construction soon.
These bags are made specifically with air travel in mind.
A new patent was filed for Disney World that could change how ride restraints are...
This Hollywood Studios attraction is closing again soon.
There's a day you shouldn't book EPCOT!
This area for kiddos at Disney's Art of Animation Resort is closed!
Fans can gear up for new Toy Story 5-inspired products showcasing the fun and adventure...
You'll need a powerful fan for this summer in Disney World, and this is the...
When will tickets for Mickey's Not So Scary Halloween Party go on sale? We have...
Some popular Disney films are getting a major update!
A NEW Disney x F1 collection just landed online!
This Northwest favorite first opened in 1976.