Disney Imagineers are the best of the best creative geniuses around.
With innovative technology, not only can you be riding on the back of a banshee on a different planet, but you can also blast off to other galaxies, learn about the life cycle of a plant, and so much more. It looks like more Disney innovation is on its way because a new ride technology patent has been filed!
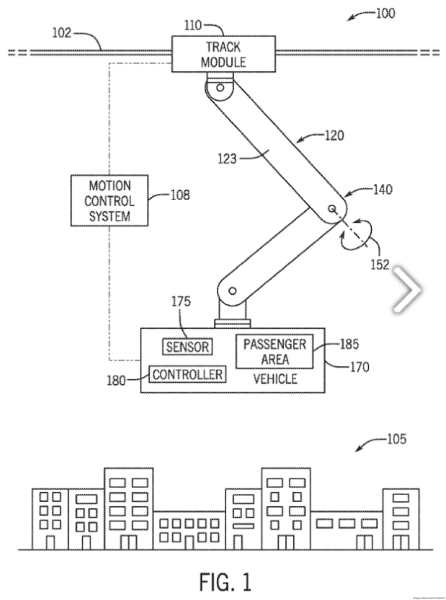
While we already know that a whole lot of exciting changes are in store for Disney World over the next few years, it seems like the House of Mouse is wasting no time on coming up with new ride technology. According to the Orlando Business Journal, Disney has filed a patent for a “rider-controlled amusement park ride” that utilizes a “force sensor” within the vehicle.
Essentially, riders would activate the sensor by leaning forward or putting pressure on it, and a “motion control system would adjust the vehicle’s position in real-time based on the input.” Based on the way a passenger moves, the sensor and ride would react accordingly.
If you lean to the side, the ride vehicle may also head in that direction. Apply more pressure to the sensor and you might speed up or change motion. Real-time control like this isn’t something we’ve typically seen on amusement rides, but it could make them more engaging and personalized — causing riders to want to come back.
Here’s a look at what the system would potentially look like, according to Disney’s permit. As you can see, there’s a passenger area with a sensor attached to a large arm and track module. There’s no indication what this ride vehicle may actually be for at this point, but we’ll be keeping an eye on any future updates.
Disney isn’t the only theme park giant filing new patents these days. Universal has filed a patent for a “round ride system” with a central wheel and multiple spokes with ride vehicles attached to them. With this ride vehicle, there are two drive systems: one that rotates the center wheel and another that moves the spokes independently.
Universal is also developing tech for “real-time proximity operation and object handoff,” which is a system designed for movement of bigger show elements during live shows and attractions. This would allow a prop or video screen to transfer between platforms or robotic arms.
While Disney and Universal haven’t made any sort of announcements about these patents and they may never actually come to fruition, we’ll be sure to keep an eye out for any potential updates.
In the meantime, don’t forget to stay tuned to the Disney Food Blog for the latest news and more!
Theme Park Being Built By Former Disney Imagineers Faces 2-Year Construction Delay
Join the DFB Newsletter to get all the breaking news right in your inbox! Click here to Subscribe!
WE KNOW DISNEY.
YOU CAN, TOO.
Oh boy, planning a Disney trip can be quite the adventure, and we totally get it! But fear not, dear friends, we compiled EVERYTHING you need (and the things to avoid!) to plan the ULTIMATE Disney vacation.
Whether you're a rookie or a seasoned pro, our insider tips and tricks will have you exploring the parks like never before. So come along with us, and get planning your most magical vacation ever!
What do you think of these new patents? Tell us in the comments.








Our handy (and portable!) ebook guides make sure you get the best deals and can plan a vacation of a lifetime.

TRENDING NOW
We have a Disney World transportation HACK that may save your vacation!
It's official! These are the 26 Disney Loungefly bags that will be everywhere in 2026.
You need to check out these Disney items available at a great price on Amazon!
Magic Kingdom is closing early on this day in January.
This is something we've been wanting for a while!
The Garden View Lounge is reopening at Disney's Grand Floridian Resort on March 19th and...
We've rounded up the FULL LIST of the best eats at the 2026 EPCOT International...
There are some GREAT deals on Amazon right now that you don't want to miss!
Bring Disney World home with these 8 Amazon finds.
You NEED to see this new exclusive Loungefly on Amazon!
You need to check out this list of ALDI finds!
If you're heading to the parks in 2026, please consider these unspoken rules for Disney...
Disney just dropped some exciting info about this year's EPCOT Flower & Garden Festival!
Disney just announced the performers for the Garden Rocks Concert Series at the 2026 EPCOT...
Come with us to try out the new menu items at Flo's V8 Cafe in...
Check out the sweet frozen treats on the menu at Swirled Showcase at the EPCOT...
Beat the heat with our favorite cooling towel!
A NEW Starbucks Mug has landed online for Winnie the Pooh fans.
We're getting closer and closer to saying goodbye FOREVER to the Monsters, Inc. dark ride.
We're breaking down the three main dress code categories you need to know about so...