Could a NEW kind of roller coaster be coming to Disney World soon?
We’ve seen Disney use many different kinds of ride designs, like trackless vehicles (think Mickey & Minnie’s Runaway Railway), 360-degree ride vehicles (like Guardians of the Galaxy: Cosmic Rewind), water rides (like Pirates of the Caribbean), omnimover dark rides (like Haunted Mansion), and classic coasters (like Rockin’ Roller Coaster). So what’s the next big thing coming to Disney World rides? We might have a BIG clue.
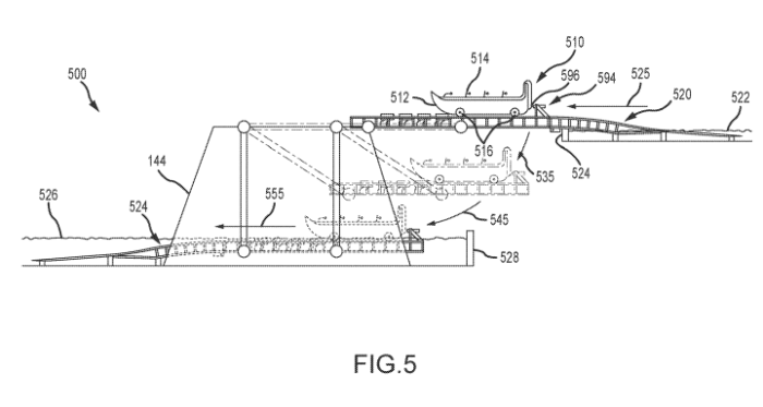
A new invention could be the first clue that Disney is going to try out a different kind of theme park ride design. We found a patent for a “Park Ride with Drop Swing Propulsion,” which could point to the future of Disney attractions.
This patent is by Disney Enterprises, Inc., and the invention is described as “a park ride for use in theme parks, amusement parks, and other settings.” The ride has “a track defining a ride path for a passenger vehicle” that is configured “with two or four or more wheels, to roll upon and engage the track.”
But what’s DIFFERENT about this ride design is that it “includes a drop swing propulsion system that is adapted to drop a section of track upon which the passenger vehicle is supported from a first elevation to a second elevation that is lower than the first elevation.” In other words, the track will drop the ride vehicle to a lower track, and the force from that drop will propel the vehicle forward.
According to the patent, “The new park ride design is particularly well suited for use in roller coasters, water rides, and the like in which vehicles are configured to ride or roll, at least a portion of the time, upon a track.”
This invention was created to address the “need for a new way to surprise people when they experience a park ride or attraction they think they know such as a roller coaster, a water ride, and so on.” The new drop swing propulsion system “provides a new attraction experience never before seen in theme or amusement parks.”
In the patent, it’s estimated that the drop could be between 5 and 20 feet, and the momentum would provide propulsion in a forward motion. However, it also says that “some embodiments of the drop swing propulsion system are configured to propel the vehicle(s) in the same direction after the drop is experienced while other embodiments of the new system provide a concurrent change in direction for each vehicle,” so it might not just be to move forward.
Disney hasn’t announced what ride this new system might be used in, so we’ll have to wait and see what comes of the new invention. We’ve seen other patents recently that point to potential new rides, including one patent that seems to be for a Moana-themed boat ride.
Some other patents that we spotted recently include one invention that could make 3D glasses a thing of the past and another that might revolutionize character meet-and-greets.
Stay tuned to DFB for more updates on all the latest Disney news!
Click here to see a new invention that might be the CREEPIEST thing you’ve ever seen.
Join the DFB Newsletter to get all the breaking news right in your inbox! Click here to Subscribe!
WE KNOW DISNEY.
YOU CAN, TOO.
Oh boy, planning a Disney trip can be quite the adventure, and we totally get it! But fear not, dear friends, we compiled EVERYTHING you need (and the things to avoid!) to plan the ULTIMATE Disney vacation.
Whether you're a rookie or a seasoned pro, our insider tips and tricks will have you exploring the parks like never before. So come along with us, and get planning your most magical vacation ever!
What ride do you think this could be used for? Let us know in the comments!









Our handy (and portable!) ebook guides make sure you get the best deals and can plan a vacation of a lifetime.

Isn’t this seen in Hagrid’s Motorbike?