One thing you might notice about Disney World is that there are a LOT of robots.

©Walt Disney Imagineering R&D Inc.
When you’re on the rides you’ll see animatronics galore and robots have even been known to roam the park. Remember Push the Talking Trash Can? The company is regularly making strides in robotics technologies and now they’ve come up with a new invention!
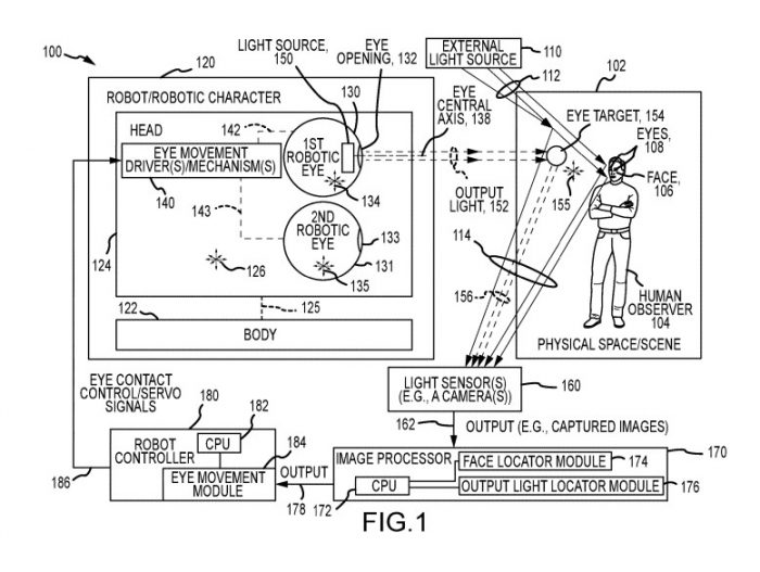
Disney recently filed a patent for “Eye Contact Sensing and Control for Robotics Characters,” and that’s just what it sounds like! This tech lets robots make eye contact with you just like a person would.

©Disney
The system uses a light source from the eye of the robot to locate a human face. From there, the system generates the robot’s eye movement based on the location of the target human face so that the robot keeps eye contact with a human.

©Walt Disney Imagineering R&D Inc.
This patent certainly seems to be another piece in the puzzle of robotic characters that can directly interact with humans. In the theme parks, that could mean Cast Members or directly with guests.

©Walt Disney Imagineering R&D Inc.
Last year, we spotted a patent for a robot actor that can balance and move on its own. Then, Walt Disney Imagineering teased a life-size Baby Groot robot. Perhaps this tech will help Groot and other robotic characters interact with humans realistically.

©Walt Disney Imagineering R&D Inc.
Regardless, it would be very cool to make eye contact with a robot in the Disney parks or beyond! As always, stay tuned to DFB for the latest Disney tech updates!
Want to learn more about the Groot bot? Click here!
Join the DFB Newsletter to get all the breaking news right in your inbox! Click here to Subscribe!
WE KNOW DISNEY.
YOU CAN, TOO.
Oh boy, planning a Disney trip can be quite the adventure, and we totally get it! But fear not, dear friends, we compiled EVERYTHING you need (and the things to avoid!) to plan the ULTIMATE Disney vacation.
Whether you're a rookie or a seasoned pro, our insider tips and tricks will have you exploring the parks like never before. So come along with us, and get planning your most magical vacation ever!
What do you think of this new tech? Tell us in the comments!

Our handy (and portable!) ebook guides make sure you get the best deals and can plan a vacation of a lifetime.

TRENDING NOW
We finally know when Cinderella Castle is getting a makeover!
Heads up: based on two new permits, there's MORE construction coming to these two Disney...
Some BIG changes hit Disney World this week!
Disney Loungeflys are a great Christmas gift, and you still have time to get them!
Something special is coming back to EPCOT on Christmas Eve!
There's a LOT of progress being made over at Rivers of America, soon to be...
We're sharing the recipes from 10 holiday cookies from the Disney parks, so YOU can...
Let's see how Disney World restaurants changed this week.
There are tons of Disney World essentials available for great prices on Amazon!
There's a NEW piece of Figment merchandise in EPCOT that we're OBSESSED with, and you...
We're one week away from Christmas, but you still have time to shop!
Disney World's Christmas parade will be available for regular park guests starting TOMORROW!
You can't miss these HOKA deals!
It is Christmas week -- and we are rounding up everything that will be closed...
You need to read this before traveling to Disney World.
Well, the BAD news is that closed attractions, missing perks, and potential price increases are...
We're taking a closer look at some of the updated developments for two of Disney...
We swear by these Orlando International Airport hacks.
Uh, what's happening in the EPCOT Norway Pavilion?
If you are traveling through the Orlando International Airport (MCO), you need to know about...