Disney has some big innovators working behind the scenes!

Hall of fame baseball legend Cal Ripken Jr. and Disney Sports Vice President Faron Kelley pose with Mickey Mouse at the Magic Kingdom Park as Ripken Baseball and Walt Disney World Resort jointly announced Tuesday the Ripken Experience is coming to ESPN Wide World of Sports Complex in 2020. ©Disney
We love keeping an eye out for Disney patents to see what kind of tech those innovators are working on — and what the innovations mean for the company and the future! Today, we spotted a new Disney patent for yet ANOTHER round of virtual reality tech, and this one has got a focus on the world of sports!
Disney published a patent last week for “Systems and Methods to Provide a Sports-based Interactive Experience.” Basically, Disney is working on a virtual reality sports program with the specific example of a VR baseball game!
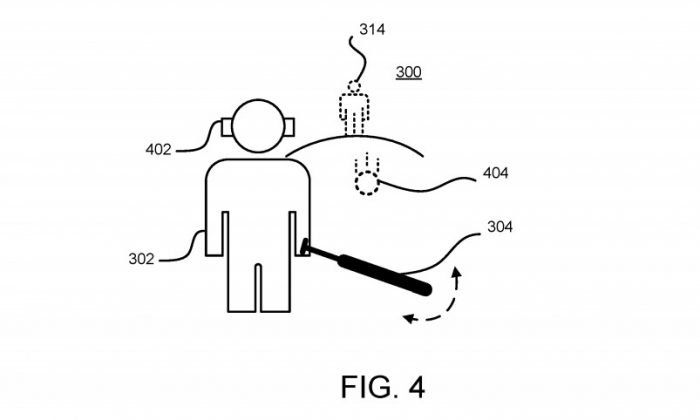
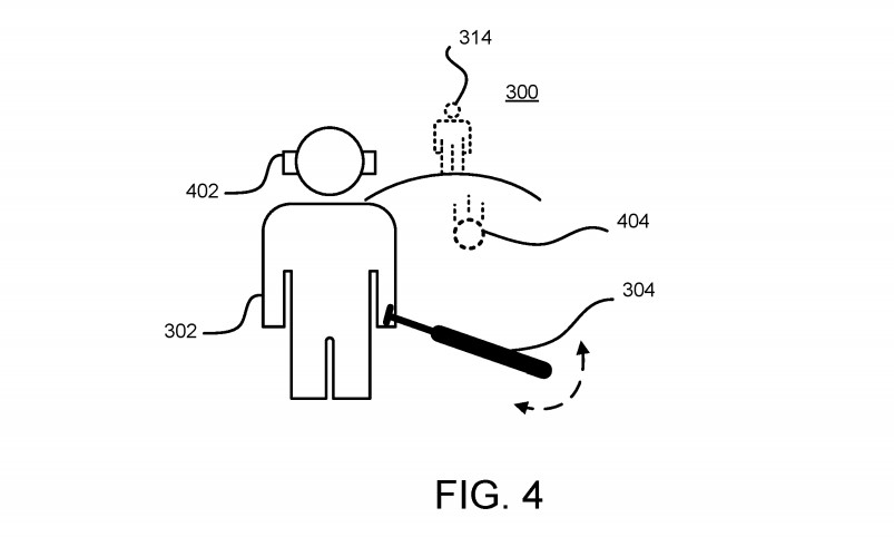
As you can see from the picture, this system would work in a way that combines the physical aspects of playing a sport, like baseball, with a virtual reality setting. The figures in the patent show that you could play a full baseball match on your own, with the other players created virtually. Well, to that we say, “Wii Sports, who?”
In this instance, the player and the bat are real and in an open space. The bat is outfitted with sensors that inform the system of its movement. The rest of the game (players, ball, and all) would be virtually rendered. And it’s not just limited to baseball! This tech could be applied to another sport as well.
This sort of system could be used in an enclosed space specifically made to match up with the experience, but if it were to use augmented reality, it could technically be safely played anywhere. The player would still be able to see the real world with the VR aspects imposed on top of it.
That’s so cool! The patent is pretty vague so it’s not likely that Disney is actively planning on launching such an experience anytime soon, but it does show us one more facet of their extensive work in VR and AR tech! As always, stay tuned to DFB to learn more about Disney inventions.
Click here to learn more about the ways Disney is changing entertainment!
Join the DFB Newsletter to get all the breaking news right in your inbox! Click here to Subscribe!
WE KNOW DISNEY.
YOU CAN, TOO.
Oh boy, planning a Disney trip can be quite the adventure, and we totally get it! But fear not, dear friends, we compiled EVERYTHING you need (and the things to avoid!) to plan the ULTIMATE Disney vacation.
Whether you're a rookie or a seasoned pro, our insider tips and tricks will have you exploring the parks like never before. So come along with us, and get planning your most magical vacation ever!
What do you think of this virtual baseball tech? Tell us in the comments!





Our handy (and portable!) ebook guides make sure you get the best deals and can plan a vacation of a lifetime.

TRENDING NOW
Don't miss these Disney stocking stuffers on Amazon!
Disney+ is not moving forward with a 'Holes' TV series.
Lightning Lane prices are finally dropping in Disney World soon!
Magic Kingdom is getting a big parade change NEXT WEEK!
We just spotted some INCREDIBLE Star Wars signed photos in Disney's Hollywood Studios, but they'll...
New permits have been filed for changes in Disney World!
There's a NEW entree over at Yak and Yeti Local Food Cafes in Animal Kingdom,...
If you ship your souvenirs home from Disney World, you need to know about this...
I can't believe I'm saying this, but I might be skipping Disney World in 2026.
Disney Adults are doing something interesting in World Showcase.
We tested some Amazon travel essentials so you don't have to.
Disney just announced the reopening date of Blizzard Beach!
If Frozen Ever After is a must-do on your EPCOT day, you’ll want to hear...
Getting food at Disney World hotels is harder and harder these days...
NEW perks have arrived for Disney water park seasonal pass holders.
Vivoli il Gelato just opened a brand-new affogato cart at Disney Springs and we're bringing...
Disney just dropped some gorgeous holiday-themed wallpapers.
There's a NEW pair of Disney BaubleBar ears online, and we can't get over how...
Nope, I will never ride this EPCOT ride.
In 2026, you're going to need to throw out what you knew about Lightning Lanes...