It’s no secret that it gets HOT in Disney World! The summers can be brutal if you’re not prepared, and it makes us wish that Disney really did have that rumored weather dome.

Cinderella Castle
Thanks to a new patent recently filed by Disney, it seems like the company is working towards getting better at warning guests about those infamous heat waves and other weather issues. We’re breaking down what we know right here.
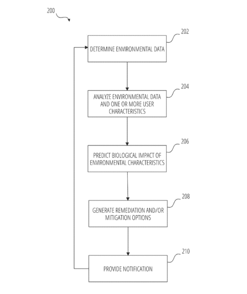
In a new patent submitted on April 2nd, 2026, Disney detailed a new project called Predicting and Mitigating Effects of Environmental Conditions. In this patent, Disney describes a new system that has a “user device” that will “determine the environmental conditions for a location.” So… what does that mean?

©United States Patent
The system would use weather data, specifically local forecasts and weather sensors on Disney property, to send guests alerts that will potentially impact their day. In the patent, Disney details how the weather can potentially ruin your day by writing, “people or animals exposed to heat and humidity, particularly while engaging in an activity (e.g., walking, running, etc.), can develop heat stress or other biological conditions.”

©United States Patent
Rather than just using the general weather app on your phone, this new system would send specific alerts to guests on their mobile devices based on their specific location on the property and their plans. The patent also details that “the prediction is based on at least one of a biological characteristic of the user and/or an activity schedule of the user.” This would allow the system to give you heat warnings that would impact you directly and not just anywhere at the theme parks.

©United States Patent
These warnings could give guests time to adjust their schedule, make a plan to escape the heat, or find water and a cooling device ahead of the heat waves. The patent also details that the individual could be “a person, an animal, or a plant,” so this could also help Disney with their internal operations as well. It could alert the animal care teams about potential harm coming to the animals at the resort or even how the plants and vegetables could be impacted.

©United States Patent
They detailed that this system will “allow many activities to be continued in a more comfortable and less harmful manner by helping to identify and prevent overexposure within a particular environment.” They also shared that the goal of this system is to “allow construction work, athletes, tourists, and the like to more efficiently, enjoyably, and productively maintain a desired activity schedule, even in harsh environmental conditions, such as hot, humid summer days.”

Main Street, U.S.A. in Magic Kingdom
Based on the patent and the mention of “mobile devices,” we could see this system being added to the My Disney Experience App, which also keeps your theme park schedule and general information already. This system would also focus on pollution levels around the resort. To explain how this feature would be used, the patent writes, “Consider an example where a user is attending an amusement park. Initially, the user may create or optionally may be provided with an itinerary including an order of rides and when to take food and/or rest breaks…it may be predicted that the user may approach and even cross an air pollution exposure threshold if the initially set/provided itinerary is followed due to, for example, smoke from a nearby wildfire.” After getting a notification about the air pollution, the system would send an updated recommendation that guests can either accept or decline.

Disney Fries at Casey’s Corner
It seems like this system could have several different uses throughout your vacation in Disney World, and it might even help prevent some disasters along the way. We’re eager to see when and if this system will be added to the Disney vacation experience in the near future. As always, be sure to keep following DisneyFoodBlog for more news and updates.
CHANGES Hit the Disney World App
Join the DFB Newsletter to get all the breaking news right in your inbox! Click here to Subscribe!
WE KNOW DISNEY.
YOU CAN, TOO.
Oh boy, planning a Disney trip can be quite the adventure, and we totally get it! But fear not, dear friends, we compiled EVERYTHING you need (and the things to avoid!) to plan the ULTIMATE Disney vacation.
Whether you're a rookie or a seasoned pro, our insider tips and tricks will have you exploring the parks like never before. So come along with us, and get planning your most magical vacation ever!
Tell us what you think of this new system in the comments!

Our handy (and portable!) ebook guides make sure you get the best deals and can plan a vacation of a lifetime.

TRENDING NOW
Your next new Loungefly has arrived.
We are anticipating Disney to make a big Halloween announcement next month and we can't...
Marriott's Bonvoy rewards program comes with several great perks!
Disney World restaurant menus changed again!
We stopped by one of our favorite under-the-radar restaurants in Magic Kingdom to see if...
The Yachtsman Steakhouse will be CLOSED this summer!
Disney has confirmed some MAJOR openings for the rest of 2026.
Evermore Resort just added NEW amenities, and we're obsessed with all six of them.
This new Disney Loungefly collection is sweet as honey!
We're breaking down the full guide to drinking around the world, and you're gonna want...
New Disney+ perks are here!
Want to know my secret? There are some Cast Members I AVOID in Disney World.
There are new travel advisories and risk levels issued for areas within Egypt.
Disney quietly announced the reopening date of one of our favorite Disney World lounges!
A Central Florida drought is now causing guests to ask for water at restaurants!
There's a new Figment souvenir at EPCOT!
These are 7 ways to add some Disney magic to your home.
We're breaking down what Disney's new CEO has to say about park ticket prices.
Disney World just dropped a NEW ticket discount.
Disney World is cracking down on a popular free activity!