With all the construction going on at Disney World, it seems like we keep getting updates on new patents and permits for upcoming projects!
We’ve been seeing permits for Monstropolis coming to Hollywood Studios, Tropical Americas coming to Animal Kingdom, and the huge expansion coming to Magic Kingdom. We’ve recently been hearing more and more about Piston Peak coming to Magic Kingdom, and now we have MORE to share! Now, there’s a NEW patent that you’ve gotta see, because we seriously think it has to do with the new Cars ride.
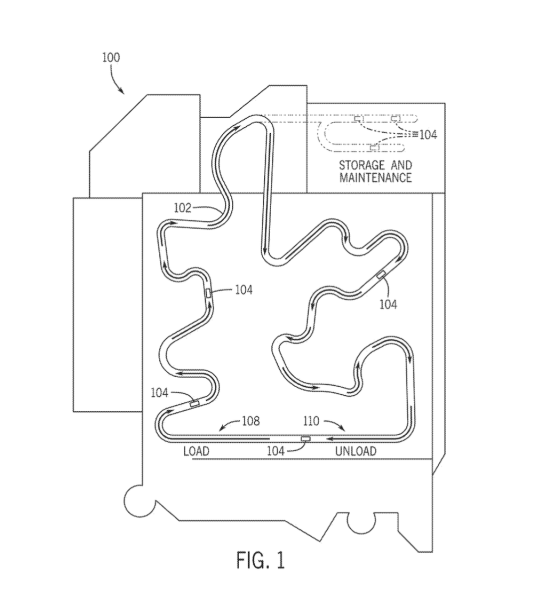
The newest patent was published just a couple of days ago, on March 12th, and is for a “New Ride System Featuring a Free-Range Vehicle Platform.” What’s interesting is that even though the patent was just published, it was actually filed all the way back on September 11th, 2024.

Disney’s US 2026/0072453 A1 Patent
Although it isn’t confirmed, the diagrams of the ride system in the patent look like they would be an outline of the “rally race” type ride that is coming to Piston Peak. What’s most interesting is what stands out in the abstract of the patent, which states the ride system “may include a track including uneven terrain, a plurality of ride vehicles positioned on the track, and a fleet controller (e.g., a wayside controller). The ride vehicles may be adapted to traverse the uneven terrain, such as along a respective chosen path of multiple paths based on respective user control. The user control may be configured to select the chosen path and adjust the speed and the direction of the ride vehicle along the chosen path. The fleet controller may provide an override control of the ride vehicles along the track based on the chosen path, the speed, and the direction of the ride vehicles. The fleet controller may define a default position and pacing for the ride vehicles. The user control may be configured to adjust the position and pacing of an associated ride vehicle from the default position and pacing, respectively.”

Disney’s US 2026/0072453 A1 Patent
There’s a lot to unpack here! For starters, it sounds like guests would enter a vehicle that they can ACTUALLY drive along the track. Not only that, but a track that they CHOOSE, while avoiding obstacles. Similar to Millennium Falcon Smugglers Run, it sounds like you’ll actually be controlling the vehicle.

©Disney
We’re thinking that the fleet controller mentioned in the abstract is for when kids aren’t able to control the vehicle. It sounds like this would be Cast Members who have the ability to take over the vehicle — helping it move smoothly, avoid obstacles, and move to different tracks. We don’t know this for sure, but it seems like it could be a good hunch.

Disney’s US 2026/0072453 A1 Patent
Of course, it’s important to remember that this patent could have NOTHING to do with the rally race ride coming to Piston Peak. It could be for a completely different ride we see in the distant future, or a ride that never even comes to life at all. That being said, based on what we’re seeing and what we’ve seen before for the ride, we don’t think it’s far-fetched to think this could be for the big ride coming to Magic Kingdom!

Disney’s US 2026/0072453 A1 Patent
We’re always on top of all the latest Disney news and updates, so make sure to stay tuned to the Disney Food Blog so you don’t miss anything!
Disney’s Grand Floridian Tea Room Reopens in Just 5 Days!
Join the DFB Newsletter to get all the breaking news right in your inbox! Click here to Subscribe!
WE KNOW DISNEY.
YOU CAN, TOO.
Oh boy, planning a Disney trip can be quite the adventure, and we totally get it! But fear not, dear friends, we compiled EVERYTHING you need (and the things to avoid!) to plan the ULTIMATE Disney vacation.
Whether you're a rookie or a seasoned pro, our insider tips and tricks will have you exploring the parks like never before. So come along with us, and get planning your most magical vacation ever!
What do you think of the new patent? Let us know in the comments!


Our handy (and portable!) ebook guides make sure you get the best deals and can plan a vacation of a lifetime.

TRENDING NOW
Disney just dropped tons of discounts, reopening dates, and more!
One of our readers recently shared a simple planning trick that helped their family avoid...
There’s something about a day at Disney World that brings out big emotions with soaring highs,...
Don't go to Disney World without this!
Our favorite park essentials will make your next EPCOT festival day SO much better!
These Yacht Club restaurants might look very different soon.
Take it from these former Disney World brides, don't make these mistakes!
Disney just dropped the opening date for The Magic of Disney Animation!
Alright, I'll admit it. I lost my MagicBand+ charger.
We finally know when Bluey is coming to Animal Kingdom!
This coffee experience on the Disney Adventure cruise ship LITERALLY changed our lives.
Did you notice that this Disney World store FINALLY reopened after five years?
6 of our favorite Disney World essentials are on sale now!
Let’s talk about something that can turn the final morning of your Disney World vacation...
These bandages are perfect for a day at Disney!
If you are traveling through the Orlando International Airport (MCO), you need to know about...
This travel item is a total GAME-CHANGER for your hotel room!
Is this one of EPCOT’s most immersive restaurants…or just overrated?
It's official! These are the hottest Disney finds on Amazon this weekend.
There was a Muppets Easter egg display at Disney's Contemporary resort!