It’s certainly no secret that Disney World has gone through some significant changes lately — and more updates are on the way.
Disney has confirmed that a Dinoland U.S.A. re-theme in Animal Kingdom and a Beyond Big Thunder Mountain in Magic Kingdom are currently in the works, though they’ve been keeping the specifics of those projects pretty quiet. A while back, Disney filed a patent that led us to believe a potential Moana ride was in the works, and now we have an update!
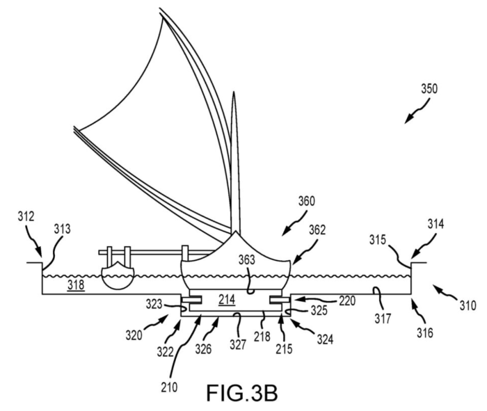
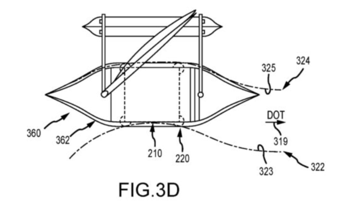
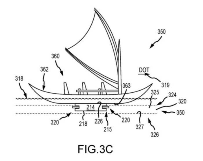
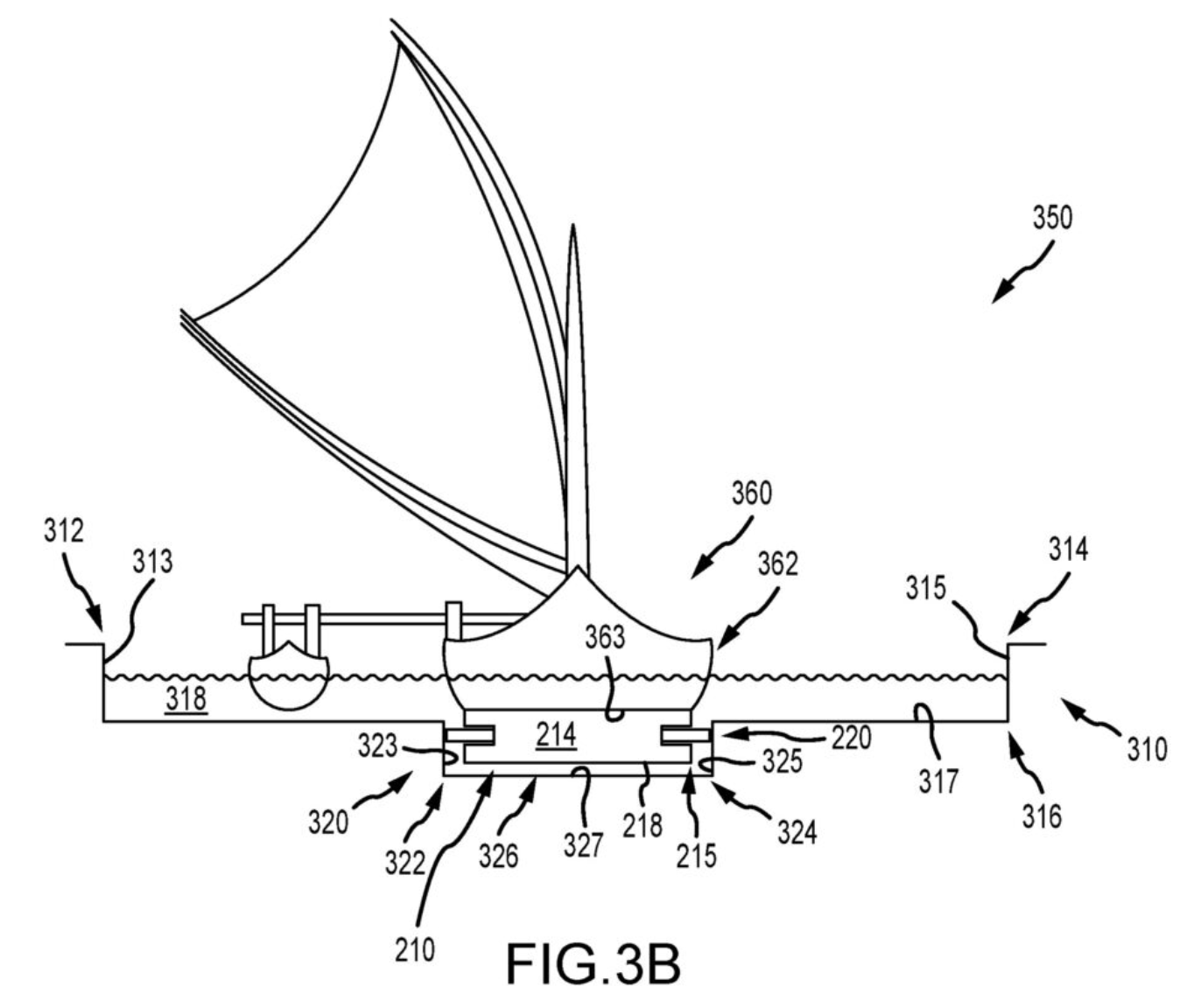
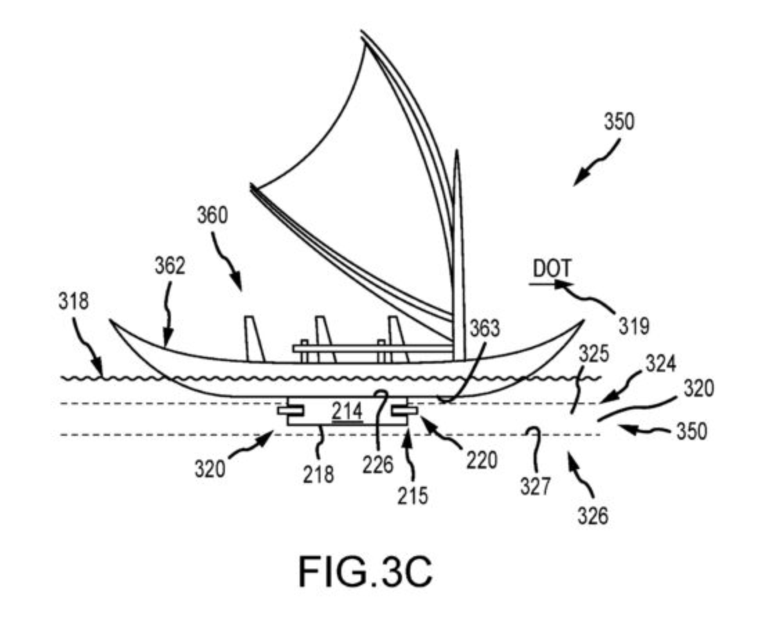
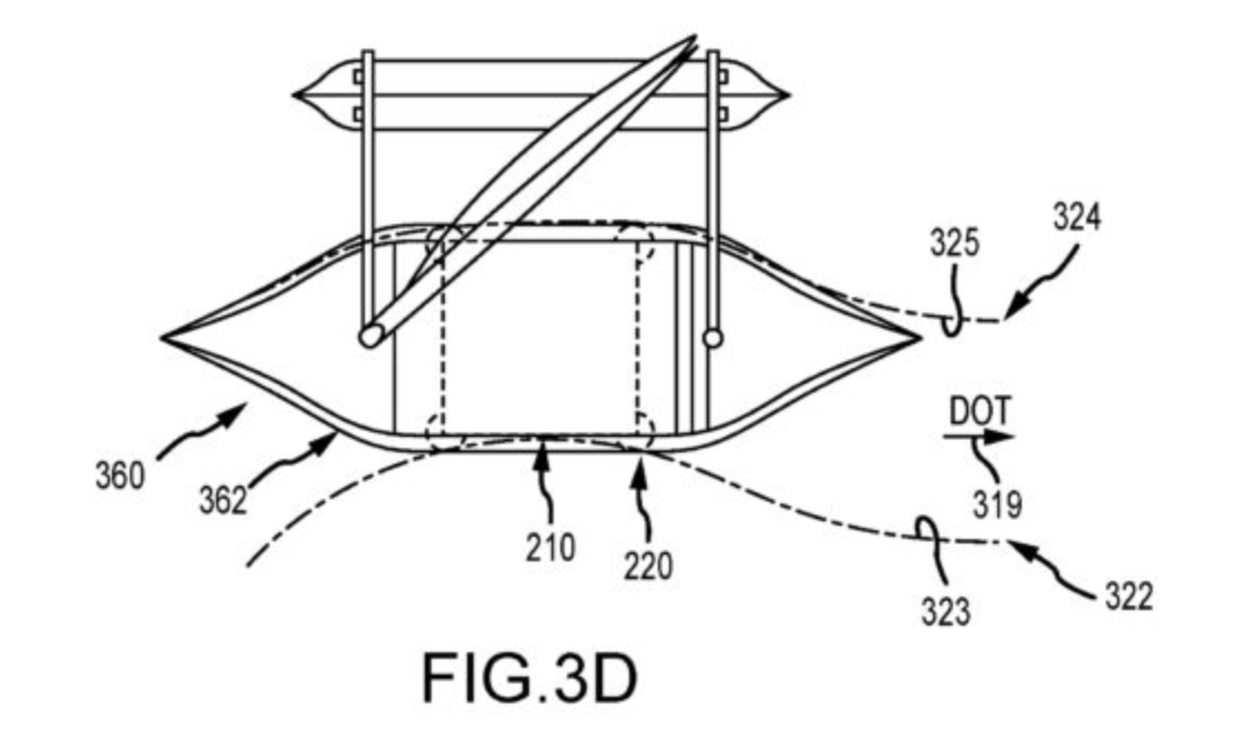
In 2022, we learned that Disney had filed a patent for a “Boat Motion Simulator.” The patent described a “system configured specially to impart boat-type motions (e.g., roll, sway, heave, pitch, surge, and yaw) to a passenger boat.” Not only that, but images from the patent led us to believe this ride was themed after Moana!
Essentially, this simulator would be able to create the actual feeling of boat-type motions, all while floating naturally and vertically supported by buoyancy in the water.
But, Disney has filed an updated patent that has since been published for a potential Moana ride named, “Guided boat with external discrete yaw control.” This technology would allow for boats to change viewpoints as they are propelled through the water. The images throughout the patent once again support the idea that this could be a Moana boat ride.
The new system would allow each ride vehicle to be pointed in different directions to view scenes they otherwise have missed with just one point of view. It could work similarly to how Guardians of the Galaxy: Cosmic Rewind does at EPCOT, but with a standard flume ride instead of a roller coaster.
And, although the standard flume system would still be used here, the direction the boats face would be controlled by an underwater track or guide, meaning that riders might not always be facing the direction the boat is traveling.
During the 2022 D23 Expo, Disney teased that a Moana-themed area could theoretically replace DinoLand U.S.A. in Disney’s Animal Kingdom, but we’ve since learned that this expansion will actually be themed after the “Tropical Americas,” so it’s entirely possible this potential Moana attraction could end up in a different Disney park altogether.
One thing is for sure, we’ll be looking out for announcements — especially during the parks panel at the upcoming D23 — The Ultimate Disney Fan Event!
We’re always on the hunt for the latest clues that could give us a hint about what’s next on the horizon at Disney parks across the globe, so don’t forget to stay tuned to the Disney Food Blog for more news!
Two Major Changes Made Disney World Much More Livable Than It Was Before
Join the DFB Newsletter to get all the breaking news right in your inbox! Click here to Subscribe!
WE KNOW DISNEY.
YOU CAN, TOO.
Oh boy, planning a Disney trip can be quite the adventure, and we totally get it! But fear not, dear friends, we compiled EVERYTHING you need (and the things to avoid!) to plan the ULTIMATE Disney vacation.
Whether you're a rookie or a seasoned pro, our insider tips and tricks will have you exploring the parks like never before. So come along with us, and get planning your most magical vacation ever!
Would you ride a Moana boat attraction? Tell us in the comments.








Our handy (and portable!) ebook guides make sure you get the best deals and can plan a vacation of a lifetime.

I would definitely ride a Moana themed attraction.
That ride concept sounds awesome and a moana scenery ride would be beautiful!
Sounds good but talk is cheap. Doubt I’ll see this ride in my lifetime. Maybe my children will??