The Disney parks have some absolutely ICONIC rides.

Mad Tea Party
Occasionally, historic and beloved rides get a little bit of an update to bring them into the 21st century. Think about the high-tech queue at Peter Pan’s Flight in Disney World or the recent updates to the Snow White ride in Disneyland, now called Snow White’s Enchanted Wish. Well, we just spotted something that might mean Disney has more updates in store for a CLASSIC attraction!
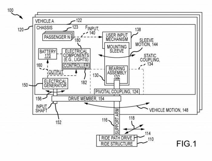
Recently, Disney filed a patent for a “spinning amusement park ride with onboard power generation.” This “new” ride system is really more of an update to a system that’s been around since the 1950s. You might recognize it as the one you’ve experienced many a time on Mad Tea Party in Disney World, Disneyland, Tokyo Disneyland, Disneyland Paris, or Hong Kong Disneyland.

Mad Tea Party Overlay
The version of the attraction that is currently in the parks, has guests spinning a wheel in the middle of the teacup ride vehicle that causes the vehicle to spin. The big difference with the new system is that the spinning of the wheel would actually generate electricity for a new system that could power special effects in the ride vehicle!

©Disney
The patent is really focused on the system that would convert the kinetic energy from spinning the wheel to the electrical energy needed to power on-ride effects. What might be more interesting for us though, is that they are looking at new effects in the first place.
On this subject, the patent says, “Operators of amusement parks are always looking for new ride designs and for ways to make existing rides more interesting to encourage riders to enjoy the ride multiple times per visit to the park.”

©Disney
The patent specifically mentions the teacups saying, “In one well-known design, the body or chassis is designed to take on the appearance of giant teacups that can be spun about a center vertical axis…” It then lists potential special effects that could be added to the ride vehicles with this new system as “unique lighting, differing sounds, visual displays, and so on.”
It goes on to give another specific example noting that this technique could be used to illuminate a set of lights with a brightness that varies based on the speed with which riders are spinning the wheel in the teacup.

©Disney
Wow! This patent shows some really cool tech and it certainly would be neat if new lights and special effects were added to the teacup ride vehicles. Of course, there are a variety of ways that this technology could be used on a ride like the Mad Tea Party. Could there be some sort of competitive element to making the sounds or lights appear? Or could your ride be a little bit different every time you get on? Maybe!

Mad Tea Party
Whatever the case, it is interesting that Disney is specifically using teacup-style rides like Mad Tea Party as a base for a patent to add high-tech updates. We’ll certainly be keeping an eye out for any news of an update like this and any other updates in the Disney parks too. So, stay tuned!
Want to learn more about Snow White’s Enchanted Wish? Click here!
Join the DFB Newsletter to get all the breaking news right in your inbox! Click here to Subscribe!
WE KNOW DISNEY.
YOU CAN, TOO.
Oh boy, planning a Disney trip can be quite the adventure, and we totally get it! But fear not, dear friends, we compiled EVERYTHING you need (and the things to avoid!) to plan the ULTIMATE Disney vacation.
Whether you're a rookie or a seasoned pro, our insider tips and tricks will have you exploring the parks like never before. So come along with us, and get planning your most magical vacation ever!
What do you think of this patent? Tell us in the comments!

Our handy (and portable!) ebook guides make sure you get the best deals and can plan a vacation of a lifetime.

Mad Tea Party ride being up grades that sounds great .If you can make the cups bigger for us grown up . Is it going to go fast or will it be the same ..To keep the ride and up grades is great so no one will lose the ride that they love for years .