Disney tends to be at the forefront of technology.
Just think about the Star Wars Hotel — Galactic Starcruiser! This upcoming experience is set to be an immersive vacation like none before it. We can’t WAIT to see the space windows and experience using the Force for ourselves! Now, we know a little more about Disney’s work to make new experiences more immersive than ever.
Recently, Disney filed two patents that focus on content inside a vehicle like a car, train, bus, ride vehicle, or anything else. These new inventions are significant concepts when it comes to bringing guests into neat new worlds.
How Your GPS Could Turn Into Ariel
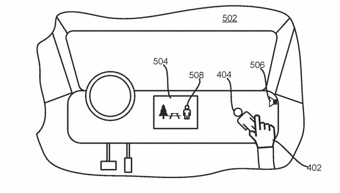
The first patent is for “Systems and Methods to Trigger Presentation of In-Vehicle Content.” Basically, Disney is working on a system that could recognize a trigger and respond with appropriate content inside of a vehicle.
A person could enter a vehicle with this system wearing a t-shirt with a movie character on it or holding a toy of their favorite character. The vehicle could then recognize the presence of the shirt or toy and present content through screens, audio, and more that go with the toy.
One example the patent uses is that a toy could change the vehicle’s navigation system to use a voice prompt that is the voice of the toy’s character. Think: You get in the car with your new Ariel doll, and next thing you know she’s directing you back to your hotel.
The implementation can be extended to even include variations in the temperature of the car. The vehicle’s climate control system could be programmed to shoot a blast of cold and play a greeting from Elsa when you wear your snow queen shirt.
But this technology has also been developed with a theme park application in mind. One trigger object could be a MagicBand or other RFID device. When a theme park guest gets in the vehicle, it could trigger the system to use screens to show the guest an animation based on their individual theme park day. Woah.
The content could even be used as a survey system of sorts. Suppose you rode Pirates of the Caribbean. Your MagicBand saves this information, then tells the vehicle. In response, an animation plays where Jack Sparrow asks about your experience on the ride.
This tech has MORE applications too. The trigger could be something that’s meant to interface with a gaming console and your in-vehicle content could relate directly to your game. Or, it could even keep track of a plan or schedule that you’ve linked to your MagicBand!
We’re not sure how Disney might be considering an application of this. It could be a consumer product to work with a navigation system or it might be to enhance on-property Disney Resort transportation. We’ll have to wait and see!
How a Car Could Turn Into a Spaceship
But the other vehicle patent is even COOLER. The second filing was for “Systems and Methods for Using a Vehicle as a Motion Base for a Simulated Experience.” Think of it like a motion simulator, but instead of sitting in a big room that moves, you’re sitting in a car.
Basically, this tech allows a simulated experience seen through screens or virtual or augmented reality to sink up with the real-life movements of a vehicle that the user is riding in. You go over a speedbump in the car, and at the same time, your simulated spaceship hits an asteroid.
Just like the last patent, this tech could be used with any kind of vehicle but most of the illustrations seem to pertain to ground-based, maneuverable, passenger vehicles like cars or buses.
It seems that Disney is working on this tech with Star Wars-based experiences in mind. One example notes that a drive through an urban area could correspond with a virtual city, a trip through a plain could correspond with a virtual field, and a forest trip could see you in a virtual forest.
Specifically, the patent notes, “Simulation experience may select a simulation experience so that when the vehicle is in urban area, the simulation experience occurs in a virtual city under the Empire’s control, when the vehicle is in plain area, the simulation experience occurs in a virtual plain outside the virtual city, and when the vehicle is in forest area, the simulation experience occurs in a virtual forest filled with Ewoks.”
It’s not super common for Disney to outright use Star Wars language in a patent so this is certainly interesting. Could this ultimately be for some sort of theme-park-based or consumer product Star Wars experience? Maybe! Or for the transportation to and from the Star Wars hotel?! Who knows!
In some instances, a user could tell the system information at the start of a trip like duration and the system could adapt the virtual story experience accordingly. It can even have a set time for the “peak” of the story to happen!
And there’s not a limitation on the kinds of experiences folks can have. The patent notes, “For example, a simulated experience may include a story relating to a virtual vehicle in space flight, a movie relating to a battle within a virtual vehicle, a game relating to an exploration of a virtual planet, and/or other simulated experience.”
Some of the imagery in the patent shows virtual views such as a virtual vehicle jumping to lightspeed as the physical vehicle accelerates…
…a virtual vehicle caught in the tractor beam of the Death Star (and yes, the patent really says “Death Star)…
…a virtual vehicle exploring a virtual planet that matches the physical weather…
…and even a race between virtual spaceships.
All of this imagery could be paired with audio such as, “virtual passengers discussing the asteroid, a computer announcement that the virtual vehicle passed by the virtual asteroid within a certain distance, etc.”
Riders could even interact. The patent explains, “one person may be able to provide activity information corresponding to a virtual weapons control of a virtual spaceship while another person may be able to provide activity information corresponding to a virtual navigation control of the virtual spaceship.”
Again, it’s not clear how Disney plans to implement this technology — although it certainly seems like they have something Star Wars-y in mind. Perhaps this will amount to a new theme park experience, or maybe you’ll be able to pull up the virtual experience on your phone while your riding on a long car trip.
Whatever the case, we’ll be keeping a close eye on new experiences announced by Disney and on the latest permits and patents. Stay tuned to DFB for the latest updates!
Click here to learn more about the Star Wars Hotel!
Join the DFB Newsletter to get all the breaking news right in your inbox! Click here to Subscribe!
WE KNOW DISNEY.
YOU CAN, TOO.
Oh boy, planning a Disney trip can be quite the adventure, and we totally get it! But fear not, dear friends, we compiled EVERYTHING you need (and the things to avoid!) to plan the ULTIMATE Disney vacation.
Whether you're a rookie or a seasoned pro, our insider tips and tricks will have you exploring the parks like never before. So come along with us, and get planning your most magical vacation ever!
What do you think of this tech? Tell us in the comments!
















Our handy (and portable!) ebook guides make sure you get the best deals and can plan a vacation of a lifetime.

This is the tech they will use in the Star Wars hotel shuttles From the cruiser down to the Batuu and back. Seems like a pretty easy use case.