Disney has got some SERIOUSLY cool experiences planned for the future.
A few that we’re SUPER excited about are EPCOT’s space-themed restaurant, Space 220, and the Star Wars hotel, Galactic Starcruiser. Both of these locations will make guests feel as if they’re in space, complete with windows that look out into the expanse. But HOW will those windows work?! Disney just filed a document that explains it ALL.
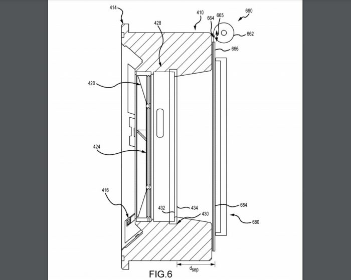
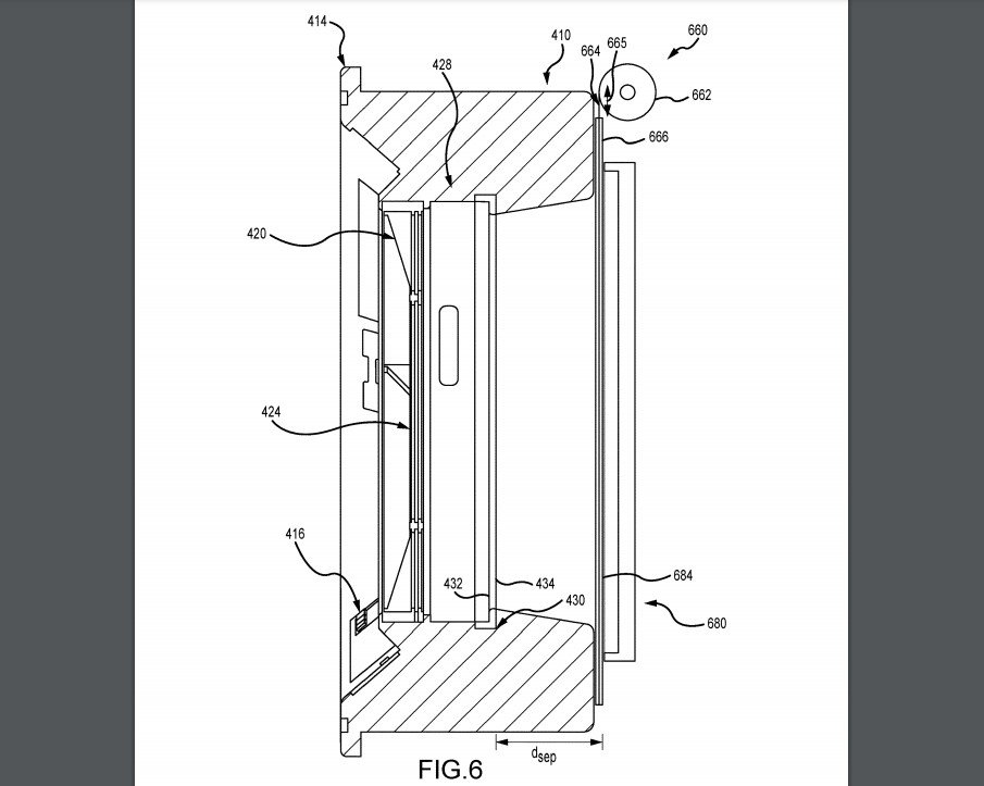
Today, we spotted a patent for “Large-scale Infinity Optics Window for Use in Small Facility Packaging Applications.” Yup! That’s a fancy way of saying SPACE WINDOWS — or really any fake windows.
The trick here is making a flat LED screen appear to show a dynamic and infinite environment. After all, if you put a window frame around your TV, you’re not exactly going to feel like you’re looking out into space.
So HOW the HECK do they make that happen? Basically, they create a layered system with an LED screen, a magnifying lens, a fresnel lens (Imagine the lens on a lighthouse!), and a window. Looking through the window, you’d actually be seeing through these lenses that distort the LED screen and in turn produce an infinite effect. Pretty neat right?
This optical illusion would help to amplify a very high-tech display screen. One that has a significant brightness and 4K or greater resolution. Put it together and what have you got? A realistic view right into space.
Now, this technology isn’t exactly new. In fact, you can see the lens strategy used in Disney World right now! Walking through the queue of Space Mountain, you’ll see some warped windows into outer space. That’s an earlier version of this tech!
What makes this patent and tech unique is that these “windows” are specifically created for small packaging, A.K.A., a hotel window rather than a HUGE display. In the past, infinity optics like these have required four to six feet or more of space IN the wall to implement the illusion. That’s not the kind of room that a hotel has to spare — especially when you’re implementing countless windows.
Disney’s new version requires only 15 to 24 inches of space within the wall to make the illusion work. Plus, it can be viewed from anywhere in the room and while moving without getting all warped like the ones in the Space Mountain queue.
On top of that, the older versions of these displays were EXPENSIVE with certain elements costing around $100,000. The relatively inexpensive lenses used in this application help to control the cost when implementing hundreds of displays in a hotel setting.
The patent also discusses the use of a halo or iris light to help make the infinity effects more convincing to the eye. You can see this used with the windows in Rise of the Resistance. See that light around the frame?
All in all, it’s pretty darn neat that we’re going to be able to look directly into space without issue! We’re not sure when the Star Wars hotel will open, but stay tuned to DFB for all the latest updates about this offering!
Click here for the latest about Galactic Starcruiser!
Join the DFB Newsletter to get all the breaking news right in your inbox! Click here to Subscribe!
WE KNOW DISNEY.
YOU CAN, TOO.
Oh boy, planning a Disney trip can be quite the adventure, and we totally get it! But fear not, dear friends, we compiled EVERYTHING you need (and the things to avoid!) to plan the ULTIMATE Disney vacation.
Whether you're a rookie or a seasoned pro, our insider tips and tricks will have you exploring the parks like never before. So come along with us, and get planning your most magical vacation ever!
Are you excited about the Star Wars hotel? Tell us in the comments!









Our handy (and portable!) ebook guides make sure you get the best deals and can plan a vacation of a lifetime.

That’s really interesting! Thank you