Typically, when we find Disney patents, they show us some tech that we’ve yet to see. Today, that story was a little different.
We spotted a patent from Disney Imagineering today that details the technology behind the upcoming Spider-Man robot that we’ll see in Disney’s California Adventure’s Avengers Campus. This “stuntronic” will have the ability to fly through the air and pose much like a human gymnast. So, how the heck does that VERY advanced robot work?
Disney published a patent that features the designs for a “Ballistic Robot System with Spin and Other Controlled Motion of Robot During Flight.” Sound familiar? That’s because this is the tech behind that Spider-Man Stuntronic coming to Avengers Campus!
This is a pretty exciting find considering the way that Disney makes this tech work has been a bit of a mystery so far. After all, we’re used to seeing robots that are stuck to the ground; but one with no tether that hurdles through the air with the control of an athlete? We’re still having trouble wrapping our heads around it — and we’ve seen the video!
Let’s start smaller than the full, completed stuntronic. The patent first details a base form of the tech used in the humanoid robot in the shape of a jointed linear bot.
These diagrams show how the linear bot is able to tuck as it flies through the air. Very specific physical calculations then allow the tuck of the bot to throw it into a spin after being launched.
This calculated spin allows the robot to maintain flight trajectory (again, without being tethered) and then land at a designated and consistent place (typically a net). This next figure shows us a little bit of how the launch works.
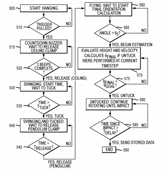
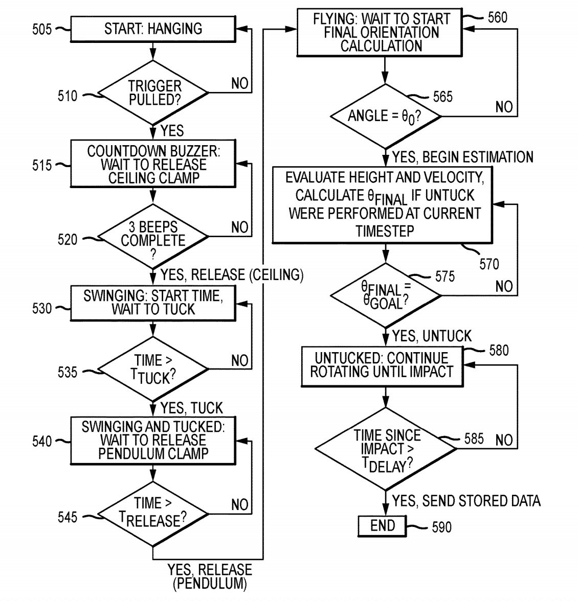
The robot is swung on a pendulum and released at the opportune point to begin flight trajectory. When the robot tucks, the pendulum knows to release and launch the robot. The following flowchart shows all the points that there are fail-safes in the process as well.
Okay, so let’s transition away from our simple jointed linear robot and into our humanoid, gymnast-mimicking bot. The stuntronic has a similar launch process. You can see here that weight drops over a pulley system, engaging the pendulum and launching the robot. From there, it enters it’s a ballistic path with the same tuck motion as the linear bot and lands consistently in a net. Then, the bot can be reset for launch again.
The added benefit of the humanoid robot is that the humanoid stuntronic has multiple limbs that can be programmed and coded to hit a variety of poses that help to both sell the character (Spider-Man) and control the trajectory of the flight. What would Spidey be without an outstretched arm shooting his web out?
At this time, we’re not sure when Avengers Campus (or all of The Disneyland Resort) will open, but when it does we should see this stuntronic dressed in full Spider-Man gear and swinging above the rooftops of the new land. It sure will be a site to see! As always, stay tuned to DFB for more of the latest tech updates from Disney!
Click here to learn everything you need to know about Avengers Campus!
Join the DFB Newsletter to get all the breaking news right in your inbox! Click here to Subscribe!
WE KNOW DISNEY.
YOU CAN, TOO.
Oh boy, planning a Disney trip can be quite the adventure, and we totally get it! But fear not, dear friends, we compiled EVERYTHING you need (and the things to avoid!) to plan the ULTIMATE Disney vacation.
Whether you're a rookie or a seasoned pro, our insider tips and tricks will have you exploring the parks like never before. So come along with us, and get planning your most magical vacation ever!
Are you excited to see the stuntronic when it debuts in Disney California Adventure? Tell us in the comments!









Our handy (and portable!) ebook guides make sure you get the best deals and can plan a vacation of a lifetime.

TRENDING NOW
We finally have an opening timeline for Big Thunder Mountain Railroad at Magic Kingdom!
The opening date for Buzz Lightyear's Space Ranger Spin is officially announced.
Disney World just dropped a NEW ticket deal for just $109 per day!
We've rounded up the key rules Disney has on the books right now so you...
Let’s talk about something that can turn the final morning of your Disney World vacation...
Trust us, don't do these things in your Disney World hotel room!
A NEW Annual Passholder hotel discount just dropped for Disney World!
A brand-new hotel offer was just revealed for Disney World!
The MagicBand issues need to avoid.
We've got a construction update for Disney's Saratoga Springs Resort!
Millennials, we love you, but Disney's gotta get rid of these 4 millennial trends ASAP!
Bluey has hit Disneyland in the best way possible!
Come with us to check out one of the rotational dining restaurants on the new...
Disney World just announced a refurbishment coming to a value resort!
There was a Muppets Easter egg display at Disney's Contemporary resort!
These are the BEST MagSafe phone cases and chargers for your next Disney World trip.
Are the BEST new Disney World perks actually hiding out at Disney’s value resorts? Is...
These Magic Kingdom dining experiences leave something to be desired.
Don't even think about bringing these things to Magic Kingdom in Disney World.
We have a FULL LIST of all the hotels at Disney World that allow guests...