If you’re like us, you’re looking forward to some of the rollercoasters that are coming to Disney World.
Between Guardians of the Galaxy: Cosmic Rewind and TRON Lightcycle Run, we almost have more excitement than we can handle! Now, a Disney patent we recently spotted might give us some insight into Disney’s newest roller coaster attractions. Check out this entirely new coaster ride system!
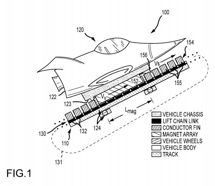
Disney just published a patent for an “Eddy current vehicle drive” which is a whole new way of moving a ride vehicle — particularly, a roller coaster vehicle — up a lift hill. Traditionally, roller coasters are transported up lift hills through the use of a chain which can cause perceptible faults in smoothness if the coaster misses chain link and falls on to the next one.
While this may not be an issue on rides like Big Thunder Mountain Railroad, some roller coasters need to have a little bit of a smoother ride to really immerse guests. One example? Space-themed rides. After all, your spaceship isn’t going to fall back a little while blasting off. Well, Disney has come up with an alternate way of getting a coaster up a lift hill, and you won’t believe the way it works.
It’s all MAGNETS. An eddy current is a magnetic current and Disney has found a way to pair magnets and conductors in the track with those in the ride vehicle. The result is a seamless ascent where the two parts don’t even need to touch. A smooth lift hill might seem like a tiny detail, but this is a major innovation for making coasters immersive and comfortable.
We’re not sure exactly where we’ll see this tech applied in the parks. Could it be used on one of the upcoming coasters? Maybe. After all, the patent WAS initially filed in July of 2017, the same month as the announcement of Guardians of the Galaxy: Cosmic Rewind. It could be a coincidence, but consider our interest piqued!
Keep an eye on DFB for ALL of the latest updates on Disney tech!
Click here to see more of Disney’s recent inventions!
Join the DFB Newsletter to get all the breaking news right in your inbox! Click here to Subscribe!
WE KNOW DISNEY.
YOU CAN, TOO.
Oh boy, planning a Disney trip can be quite the adventure, and we totally get it! But fear not, dear friends, we compiled EVERYTHING you need (and the things to avoid!) to plan the ULTIMATE Disney vacation.
Whether you're a rookie or a seasoned pro, our insider tips and tricks will have you exploring the parks like never before. So come along with us, and get planning your most magical vacation ever!
Do you think this tech is TOTALLY crazy? Where would you like to see it? Tell us in the comments!




Our handy (and portable!) ebook guides make sure you get the best deals and can plan a vacation of a lifetime.

It’s just another way of doing a linear motor. Nothing new. Already in many rides.
this tech is already working at Disney California Adventure Incredcoaster. May launch with a mag climb no chains.
Isn’t this basically the same mechanism that the Tomorrowland Transit Authority PeopleMover utilizes, but using a different name for it?