With the Disney parks closed, it can be weird to think about upcoming expansions and updates.
But, as Walt Disney would say, we’ve got to “keep moving forward!” And that’s exactly what teams of innovators and Imagineers are doing behind the scenes right now.
The last couple of months have shown us a whole slew of new cutting-edge inventions that Disney has been working on. We’re taking a look at the Disney patents to see what could be coming to Disney parks in the future!
Scanning Wearables to Learn Guest Preferences
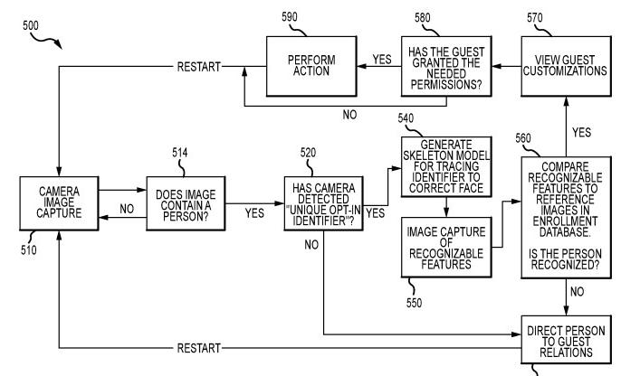
First up is one of the most interesting patents we found. We spotted a patent for a “Preference Implementation System for Acting on Preferences of Facility Visitors.” That sounds confusing so we’ll break it down a little bit.
Essentially, this is tech that could scan a wearable signifier (like a readable sticker or wristband) to learn about what a consumer likes!
In practice, this could mean that you get a sticker, wristband, or another accessory to wear around the park as a voluntary opt-in into the system. Cameras would scan these, kind of like a fancy QR code or MagicBands, and would be able to tell Cast Members about your name and preferences.
This could mean that Cast Members have customized menu suggestions for you at dining locations, rides could know your favorite color and adapt to it, or it could mean that your child’s favorite character already knows his name when he walks up! The possibilities really are endless.
This tech is built on the “unique opt-in identifier” which means you have to choose to participate, so no need to worry about everyone knowing all about you without your permission! (How Disney tracks you WITHOUT you knowing about it is another story altogether!)
Click here for our ULTIMATE guide to MagicBands!
Tracking Theme Park Guest Location
While the abilities of the preference indicator tech is a little bit off-putting, it isn’t the only creepy patent we found. There’s also one with the name “ID Association and Indoor Localization Via Passive Phased-Array and Computer Vision Motion Correlation.” Translated into normal-speak, that means this tech will be used to track and identify folks in an indoor environment — like those found in parts of the theme parks.
Yep, Disney could identify the exact location of a specific theme park guest with this technology! Don’t worry, though — the scope of this isn’t that large. The system would be arranged indoors somewhere and wouldn’t be able to keep tracking folks once they left the building.
This tech could be used to help Disney keep track of guests in a queue or a specific pavilion in Epcot. Maybe Epcot’s upcoming Play Pavilion? Knowing everyone’s location helps them to control crowds and provide personalized experiences.
To see more about how Disney currently tracks guests via MagicBand, check out this video!
Want to see more Disney inventions? Click here to check out one of their latest!
Join the DFB Newsletter to get all the breaking news right in your inbox! Click here to Subscribe!
WE KNOW DISNEY.
YOU CAN, TOO.
Oh boy, planning a Disney trip can be quite the adventure, and we totally get it! But fear not, dear friends, we compiled EVERYTHING you need (and the things to avoid!) to plan the ULTIMATE Disney vacation.
Whether you're a rookie or a seasoned pro, our insider tips and tricks will have you exploring the parks like never before. So come along with us, and get planning your most magical vacation ever!
What do you think is the coolest new tech? Tell us in the comments!




Our handy (and portable!) ebook guides make sure you get the best deals and can plan a vacation of a lifetime.

I’m not shocked. A CM friend used to get us into the parks with their maingate pass and then leave. Several years ago they let us know that the policy had changed and they would have to stay with us if they got us in or face termination – and he personally knew it to be enforced. How “they” would know kinda creeped me out.
I think the coverage of the indoor tracking patent misses and important point – it also uses your phone.
Basically they associate you on video with tech that watches your phone or wifi transmissions and links the two together. They can then triangulate your direction of movement based on either one or both. And since every phones “digital fingerprint” is unique, they can continue to track it after you leave the indoor area.
Too big brother for me. I’m sure they already do this to a point, but how much is too much?