Hate 3D glasses but love 3D effects? One Disney invention might be the solution you’ve been waiting for!
We’ve taken a look at some of Disney’s most incredible tech, including some patents that showcase what the future of the parks could look like. But now we’re taking a look at a special patent that could bring 3D effects to your park experience in a NEW way.
In 2022, we got the chance to see an application filed by Disney that they called a “continuation” of a previous patent filed in 2020. The invention is related to displaying 3D images in a physical set so as to provide an AR or VR-type experience WITHOUT having to use any kind of glasses.
The Problem
In explaining the need for the patent, Disney notes that there are various settings where it’s “desirable” to create visual displays to entertain viewers. In a theme park, for example, they point out there might be rides or walk-through experiences where guests are entertained by a virtual effect. But the set or experience could be enhanced if they could create a display with 3D images, and things could be even better if that display could be done without the guest having to wear any kind of special headgear.
Disney points out that rides that utilize 3D glasses require the theme park to buy, collect, and clean these glasses, and sometimes guests don’t like to wear them because they’re uncomfortable or difficult to wear over regular glasses.
Disney also notes that there is a desire to display characters in their natural scale/dimension, and many Disney characters are computer generated so it’s more “desirable” to present them in their original digital form (versus having a Cast Member in a character costume or an animatronic that is stuck to the ground and bound by physics).
Virtual Reality (VR) could be the answer, but wearing a VR headset isolates the wearer and doesn’t let them necessarily create a shared experience. Augmented Reality (AR) could also work, but in its current form, AR experiences via phones, etc. often require people to hold something with a limited field of view. Disney goes on to discuss other possibilities, but points out the limitations of some existing technology and the practicalities of theme park usage.
So what if you could create or project 3D images to provide an AR experience without the need for glasses and with a large field of view? And what if that technology could allow for that digital content to be integrated into the physical environment and even allow for real-time rendering of imagery for the eye of each participant to keep things within the right perspective for each person? Well, that’s where Disney’s patent comes in.
The Invention
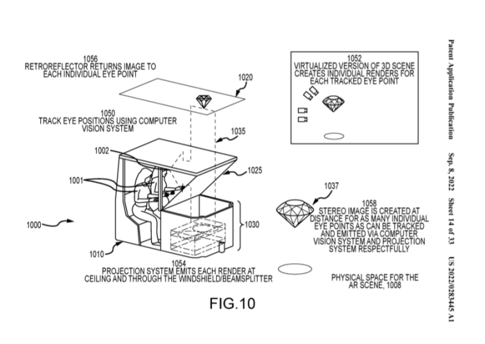
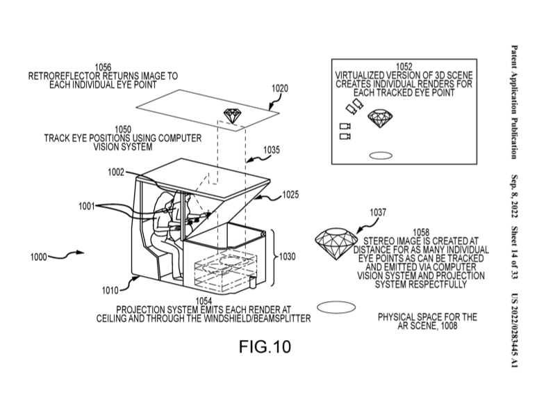
Disney’s continuation of its previous patent notes that this all has to do with creating a visual effect system that allows for the creation of virtual images that are viewable from specified eye boxes. That would all be tied into a system that could track the viewers’ eyes.
Basically, it could allow for virtual images (the likes of which you’d normally see through 3D glasses) to be retroreflected to certain locations and you wouldn’t have to use 3D glasses to see them. The guest would be positioned (maybe on a ride vehicle seat or within a certain standing spot) and eye or face location sensors would determine the location of the viewers’ eyes to get things right.
Once the system determines where the viewers’ eyes are, it would project left and right images of an AR object and the guest would see that AR object with the proper dimensions for where their eyes are, while also viewing the physical space. So the physical space would be augmented with virtual objects from the proper viewpoint!
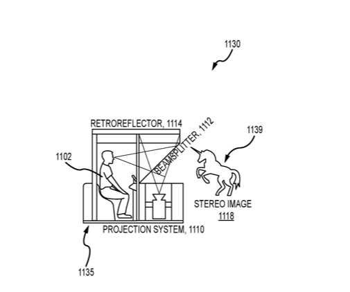
The system includes a projection screen and a beamsplitter to make things work.
How Could It Work IN The Parks?
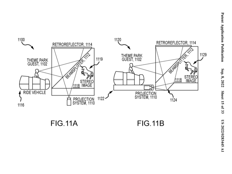
Disney discusses a number of ways this technology could be used in a theme park. For example, they point out that a ride vehicle in a theme park could have a windshield on it that acts as the “image combiner.” The windshield would be placed at an angle so it could reflect certain things back to the viewer to enable the AR effect.
Disney explains that the ceiling of the room where the vehicle goes through could have a reflective surface on it so that this process can work. With the addition of projection technology and high-speed face/eye tracking, the system could display images associated with AR objects at “tracked or determined” locations for where the viewers’ eyes are in the vehicle.
Disney notes that the figures below show how the projection system could be placed in different places — on the ride vehicle or off of the ride vehicle, depending on what is needed/appropriate.
It may also be possible to have this all arranged in a self-contained manner, where everything is housed within the ride vehicle.
Basically, the idea would be to create a system that allows for projecting images for your left eye and right eye, tracking viewers’ eyes, and ultimately transmitting these images through the use of a beamsplitter and reflective surfaces in such a way that the viewers perceive a 3D virtual object within the physical space in front of them WITHOUT the need for 3D glasses.
This could be used in so many ways to enhance existing experiences or perhaps create NEW experiences in the parks that could take things to the next level when it comes to immersing you in the story.
Could something like this be considered for the Play! Pavilion coming to EPCOT, which we’ve speculated could feature a lot of AR or VR-type experiences? This could be particularly useful there, allowing the Play! Pavilion to bring a number of animated Disney characters to life while maintaining their digital form and their size/perspective.
What do you think? Tell us your thoughts about this tech in the comments!
We’re constantly checking out the latest theme park tech and seeing what things could come to the parks in the next few years. Click here to see more about how some of Disney’s biggest announcements and changes could be HIDING in patents and permits, and click here to see the invention that’ll CHANGE meet-and-greets forever.
After you’ve taken in all that tech talk, we’ve got a little fun break for you – check out all the new, fun Disney-themed graphic tees and more in our merch store by clicking here!
Stay tuned for more Disney news!
Click here to see the toy invention that could CHANGE your Disney attraction experience
Join the DFB Newsletter to get all the breaking news right in your inbox! Click here to Subscribe!
WE KNOW DISNEY.
YOU CAN, TOO.
Oh boy, planning a Disney trip can be quite the adventure, and we totally get it! But fear not, dear friends, we compiled EVERYTHING you need (and the things to avoid!) to plan the ULTIMATE Disney vacation.
Whether you're a rookie or a seasoned pro, our insider tips and tricks will have you exploring the parks like never before. So come along with us, and get planning your most magical vacation ever!
How could you see this technology used in the Disney parks? Tell us in the comments!










Our handy (and portable!) ebook guides make sure you get the best deals and can plan a vacation of a lifetime.

too much for me to grasp. I am ok with the old 3 d glasses. I love the Muppet 3 d and I don’t know if you can enhance the experience
I agree with Ken. Enough, already! Some old school ways are OK.