Walt Disney Imagineering is often at the forefront of advancing technology. These Imagineers are the reason we have marvels like Rise of the Resistance and Flight of Passage. They’re also the reason we have moderately frightening images like this:
We’ll explain in a little. 🙂 The point is, Imagineers spend their days figuring out how to make high-tech experiences accessible to Disney consumers worldwide. Today, five new patents have popped up that might give us an idea of the sort of tech we could see in the not-so-distant future of Disney parks and products — and they could mean immersion like never before.
Here’s something to keep in mind as we look through these patents. Documents like this DO NOT indicate where the technology could be used. For some of these inventions, it is likely that their use will be in the theme parks, but that is not guaranteed — they could be intended for consumer products, film production, or a number of other things.
That said, development is a constant in the Disney Parks around the world so we may see some of these technologies pop up one way or another. That’s what makes them so exciting! Could we be interacting with holograms and becoming virtual avatars? Maybe.
Let’s take a look at this new tech!
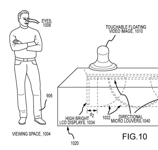
Daylight-friendly, Touchable Holographic Imagery
Two of the patents that we looked into were for a new type of holographic imagery. We’ve seen Disney use holographic imagery in the parks — most recently with Rey in the pre-show of Rise of the Resistance — but this technology would be a more advanced type of imagery.
The first patent on the subject is for a “Display System for Producing Daylight-visible Holographic or Floating 3D Imagery.” The innovations here would allow Disney to install holographic imagery outdoors, potentially in the theme parks, that would appear three-dimensional and solid.
The other patent, for “Touchable and 360-degree Playable Holographic Display” details technology that would allow viewers to put their hand through an opaque holographic image to experience the illusion.
These innovations are pretty neat and could allow Disney to open a whole world of possibility when it comes to crafting illusory and immersive environments in the theme parks and beyond. Imagine you walk by Ray the Firefly in the queue for The Princess and the Frog-rethemed Splash Mountain, solid and flying right next to you. Of course, that hasn’t been announced, but the possibilities of what could be done with free-floating realistic holographic objects are pretty mindboggling to consider!
The concept art for EPCOT’s upcoming Play Pavilion also seems to depict holograms throughout the building.
Though indoors, advanced holographic technology like the one seen in this patent could be applied in the new experience.
Click here to learn more about the Splash Mountain re-theme.
Personalized Avatars and Game Profiles
Disney has also filed a patent for “Personalized Stylized Avatars.” This system is for use with some kind of virtual gaming experience. Essentially, the system would capture your likeness and then transfer your physical features to a stylized virtual avatar version of you.
Remember that scary pic from earlier? That’s what the processing would look like! This is pretty interesting considering the commonality of the use of virtual avatars in modern gaming and virtual experiences. This could indicate that Disney is looking into some consumer product that requires an avatar or it could be used in conjunction with park experiences.
In fact, this technology pairs with another patent to become an extremely versatile set of technologies. Disney has also filed for “Systems and Methods for Game Profile Development Based on Virtual and/or Real Activities,” something that could also be used in a park space or a personal one.
This technology would keep track of a user’s progress and virtual traits as they perform either virtual or real-life activities. This could include activity tracked by wearable tech, mobile-based activities, and virtual reality activities.
With the potential for virtual reality technologies to be heavily involved in future Disney Parks experiences like the Galactic Starcruiser Star Wars Hotel and EPCOT’s Play Pavilion, a permit that allows trackable gameplay of various VR experiences definitely catches our eye.
Virtual Reality Object Association
That last patent is particularly interesting because it came out at the same time as ANOTHER virtual reality patent. Disney also filed the rights for “Perceptual Data Association.” This technology helps a virtual reality system to track an object (such as a crown) to enhance a virtual reality experience.
Technology like this further improves the viability of other virtual reality technologies Disney has been working on. Technically, a system like this could be used for a consumer with a complete VR set up in their home, but it does sync up with other non-consumer-geared VR technologies in development at Disney.
Overall, these patents have SO many possibilities. If we’re right about the possibility of the Play Pavilion being VR/AR focused, we may even see these inventions pop up there. Hey, a virtual avatar and gaming profile could be pretty useful when navigating the new pavilion.
We will, of course, be keeping an eye out for signs that tech like this is coming to the parks (or not!), so stay tuned to DFB for the latest updates on Disney’s innovations.
Click here to learn more about the possibilities for EPCOT’s Play Pavilion!
Join the DFB Newsletter to get all the breaking news right in your inbox! Click here to Subscribe!
WE KNOW DISNEY.
YOU CAN, TOO.
Oh boy, planning a Disney trip can be quite the adventure, and we totally get it! But fear not, dear friends, we compiled EVERYTHING you need (and the things to avoid!) to plan the ULTIMATE Disney vacation.
Whether you're a rookie or a seasoned pro, our insider tips and tricks will have you exploring the parks like never before. So come along with us, and get planning your most magical vacation ever!
What do you think of these interesting new patents? Tell us in the comments!











Our handy (and portable!) ebook guides make sure you get the best deals and can plan a vacation of a lifetime.

TRENDING NOW
RUN to Hollywood Studios for this delicious treat ASAP.
Disney just announced a new Dining Plan offer!
Epic Universe will close half of its family friendly rides in April!
Let’s talk about the most comfortable Loungefly options for Disney World, specifically backpacks versus crossbodies,...
We just ate at the Grand Floridian Tea Room, and we have so much to...
Whether you're shopping for a kid heading back to school or treating yourself before your...
Disney just released new ticket information for D23 2026!
We now know the dates for this year's Halloween Horror Nights!
Magic Kingdom is changing in April!
Target Circle Deal Days has arrived!
The park should be comparatively less crowded these weeks.
These airplane upgrades are worth every penny!
Here's why you should run to ALDI next week.
The 2026 class includes Bob Iger and the Jonas Brothers.
The major new area is coming to the United Kingdom.
It's official, this Disney Springs store is closing in just FIVE days!
Disney World restaurant menus just keep changing!
Disney made several HUGE announcements recently -- here's a breakdown of the big news!
From getting into the parks before everyone else to scoring those impossible-to-get dining reservations, we're...
Toy Story Land is open, here are Five Things You HAVE to Eat in Toy...