For most Disney World guests, phones are their best friends when they’re in the parks.
Between the My Disney Experience app helping you plan your trip, virtual queues for Rise of the Resistance, and the Play Disney Parks app keeping you entertained, it’s pretty important that you’ve got your phone on you. Now, Disney is working on ANOTHER way that YOUR phone could be used to entertain you in the parks — with a case that interacts with the park environments!
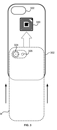
We spotted a pretty creative patent that Disney has filed for “Device and Techniques for Mobile Experience.” Well, that sounds pretty vague, so we’ll break it down for you. Disney has developed a phone case that can interact with an external environment — such as one in the theme parks.
Star Wars: Galaxy’s Edge already sees some interaction with your phone through the use of the Datapad function on the Play Disney Parks app, but this invention would take things a step further. You could essentially purchase the special case for your phone, then cues from the environment could trigger responses from the case (such as a Datapad’s lights blinking, perhaps?) or the phone.
Vice versa could be true too! Moving the phone case a certain way could use sensors to trigger reactions in the external environment. The tech kind of makes us think of the interactive wands at The Wizarding World of Harry Potter in Universal Orlando. Can you imagine queueing a Star Wars reaction just by moving your phone around?!
Of course, this tech is still really new, so we’ll have to wait and see if and how it comes to the parks. You can bet we’ll have our eyes out for any high-tech phone cases, AND for any more new inventions that Disney comes up with!
Want to see more ways Disney is using mobile technology? Click here!
Join the DFB Newsletter to get all the breaking news right in your inbox! Click here to Subscribe!
WE KNOW DISNEY.
YOU CAN, TOO.
Oh boy, planning a Disney trip can be quite the adventure, and we totally get it! But fear not, dear friends, we compiled EVERYTHING you need (and the things to avoid!) to plan the ULTIMATE Disney vacation.
Whether you're a rookie or a seasoned pro, our insider tips and tricks will have you exploring the parks like never before. So come along with us, and get planning your most magical vacation ever!
What do YOU think of this new Disney invention? Tell us in the comments!





Our handy (and portable!) ebook guides make sure you get the best deals and can plan a vacation of a lifetime.

TRENDING NOW
With pool closures, transportation construction, and more, these Disney World hotels will be impacted in...
Not every EPCOT restaurant reservation is worth the calendar gymnastics. These are the spots Disney...
We're heading to Jiko -- The Cooking Place in Disney's Animal Kingdom Lodge and we're...
This is the LAST day to experience this Disney Springs store!
We're breaking down what Disney's new CEO has to say about park ticket prices.
Uh oh. We hope this won't be a problem with the new Buzz Lightyear's Space...
A popular Toontown ride is closing, and it could be a while before it reopens.
Magic Kingdom is changing in April!
Looking to save money on some of those Disney parks essentials before your trip? Don't...
BoxLunch has quietly dropped a handful of exclusive Disney items right now, and a few...
Before you buy your MagicBands, you may want to keep this in mind.
You can't miss these massive Disney announcements!
This is everything that happened at Disney World in March.
We tried out the new menu options at Trader Sam's Grog Grotto, but they weren't...
Disney Adventure World and the World of Frozen are FINALLY here!
Epic Universe will close half of its family friendly rides in April!
Get your new favorite Loungefly bag up to half off!
A popular and unique experience has returned to EPCOT's China Pavilion!
There are so many characters to meet in Disneyland Paris' new Disney Adventure World, and...
Construction, price hikes, and lost hotel perks… Hate to be the bearer of BAD Disney...