Disney technology is definitely something to marvel at; that’s one of our favorite things about going to the parks!
We’re always curious about what’s in the cards when it comes to Disney innovations. With the crazy technology we’ve spotted them working on and the intricate advancements for Rise of the Resistance in Star Wars: Galaxy’s Edge, Disney’s set the bar high for future tech pretty. That’s why we keep an eye on the patents that Disney files to see if anything interesting crops up. And boy, did we spot something INTERESTING. Disney seems to be working on a new autonomous robot for the parks!
What is an Autonomous Robot?
Honestly, we see a lot of robots everytime we’re in the Disney parks. From super life-like animatronics to wandering droids, Disney knows what they’re doing in the robotics department. Still, one area where there’s room to grow is with robots that wander around and interact with guests — without a dude following along working the controls. We’re talking about autonomous robots.
According to Autonomous Robots by George A. Bekey, these bots can be defined as “intelligent machines capable of performing tasks in the world by themselves, without explicit human control.” These are actually a little more common than you might think. Ever seen a Roomba Vacuum? That’s an auto-robot!
Keep in mind, though, it’s a lot easier to program a small bot like a Roomba than the large-scale bots we’d expect to see in Disney theme parks.
Autonomous robots in a theme park environment are really a thing of the future. Sure, there are wandering bots in the parks (like R2-D2!) but those bots are still remote-controlled by a human VERY close-by.
Consider that Roomba: when it runs into something, its sensors tell it to turn around. You can’t exactly have an autonomous BB-8 running into a guest before it finds out it needs to turn around! Luckily though, Disney seems to be developing some new tech that would make auto-robots in the parks a possibility.
What Makes Disney’s Autonomous Robot Special?
In order to have an autonomous robot that would work in a theme park setting, there are a few innovations they’ve had to develop and patent to make this kind of technology a possibility. We’ve rounded up a few of those patents to take a look at!
It Can Roam in a Social Environment
Remember our point about BB-8 running into a guest? This first patent is part of the tech that would solve that problem. Essentially, the autonomous robot that Disney is developing can “read the room” so to speak, and respond to the surrounding environment.
Disney recently filed a patent for an “Interactive Autonomous Robot Configured for Deployment Within a Social Environment.” This patent contains the technology that is necessary to allow a robot to function effectively on its own in a theme park.
According to the patent, “Some attempts have been made to implement theme park characters via autonomous robots. These autonomous robots, under ideal circumstances, should be able to roam freely within the theme park and autonomously interact with guests…However, in practice, this approach is infeasible via conventional autonomous robots due to a variety of technical reasons.”
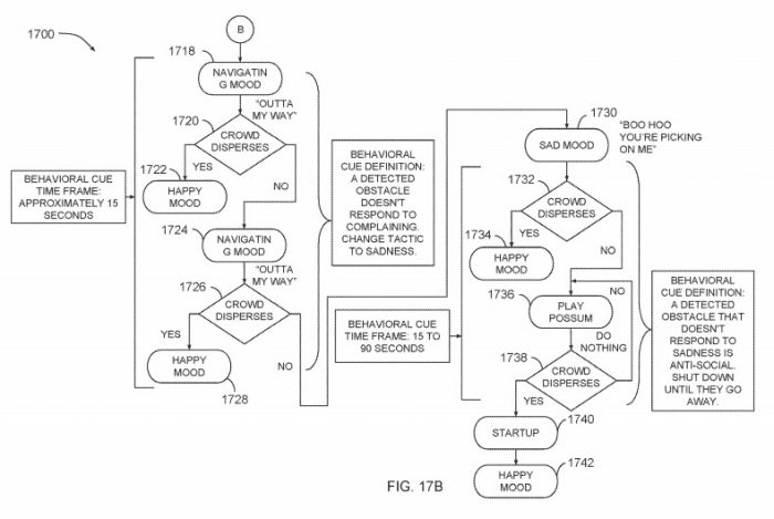
Now, what makes Disney’s new bot design special is that is can read its environment and respond appropriately. In the following two diagrams, you can see an example of how an autonomous bot might respond to its path being blocked by a guest.
As you can see, the robot’s default is “Happy Mood.” It understands that if it is trying to move away from someone, but that someone is a shorter height person who keeps blocking its path, it might be a kid who wants to play. In this case “Dancing Mood” would be activated to play along with the kiddo!
Now, if a child or adult guest is blocking the robot’s path, and won’t allow it to move even after a little dance, it has options!
First, the bot will communicate that it does not want to be blocked with an “outta my way” function. If the guest continues to block the path, the robot will shift into a “Sad Mood” in an attempt to get the guest to move. If all else fails, the bot will “Play Possum” until the guest gets bored and leaves.
Um… wow. That’s some pretty advanced technology. These kinds of advancements could have us interacting with completely autonomous bot-versions of our favorite characters — but more on that later.
It Can Understand and Respond to Social Cues
Another patent was filed for this robot with the title “Interactive Autonomous Robot Configured for Programmatic Interpretations of Social Cues.” Well, that’s a lotta words!
Still, this concept is pretty simple even if the tech behind it is mega-complicated. Remember how we mentioned that our auto-robot friend would know if an obstacle was a guest who wanted to play? The robot uses readings of space and touch to decide on how to respond to someone interacting with it.
Take this diagram for instance. In it, the robot understands the concept of personal space. If crowding is incidental or if the robot ends up too close to someone, it will restore its own personal space.
On the other hand, if it senses someone within the confines of personal space who is making sustained physical contact, it interprets that as affection and will respond affectionately.
This is only one of a ton of potential processes that this robot would be able to run to respond to others in a social setting. What this does is it allows the auto-robot to act in character consistently with others — which is obvi SUPER important when developing a robot to be a character in a theme park.
It Can Respond In-Character to Safety Concerns and Malfunctions
This is a BIG deal. Imagine you’re in the parks, interacting with an autonomous R2-D2 and a process fails while he’s talking to a little one.
If R2 shuts down or enters and emergency protocol out of character, that could ruin the experience for a kiddo — or worse, be potentially dangerous!
To combat this, Disney filed a patent for an “Interactive Autonomous Robot Configured with In-Character Safety Response Protocols.” That means, that if this tech were used for R2-D2, for instance, our favorite droid would have ways to respond to safety concerns without breaking character or malfunctioning visibly to guests. WOW!
In the following diagram, you can see how the bot would handle the safety concern of a person running at the system from a nearby hidden location. Not only does the patent include the tech the robot would need to move away, but it also includes the tech that a bot would need to respond in character.
The process allows the auto-robot to decide on the appropriate reaction to a safety concern, then respond in character as it handles the problem.
In the instance that our bot is unable to solve the problem without breaking character, the system has a character contingency that will reestablish the character after it breaks. For instance, if the bot has to run from an approaching individual and does so without an in-character response, the system can then “shake off” the reaction and react to it in character. This keeps the personality of the robot intact.
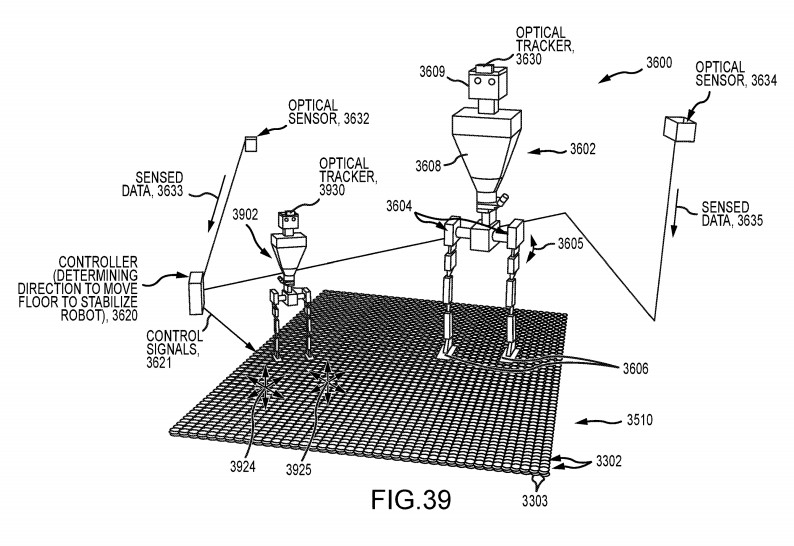
It Can’t Fall Over
Maybe not AS exciting as the other ways that Disney has made this auto-robot a marvel, but VERY important — it won’t fall over. Around the same time that the Autonomous Robot patents were filed, Disney also filed a patent for a “System for Stabilizing an Object to Control Tipping During Omnidirectional Movement.” Basically, they’ve worked out a way to keep a bot (rolling or walking) upright.
In this case, the bot uses a special floor to remain upright. This tech probably wouldn’t be seen on a wandering robot. However, this could be seen in robots for stage shows or even for animatronics on rides. The better that a bot can balance, the more that it is able to do functionally.
Where could we see this in the parks?
So where could we see an ACTUAL Autonomous Robot in the parks? It’s hard to say, but we have a few ideas of where this could work in the near future.
You’ve probably already imagined an autonomous R2-D2 since we’ve been using him as an example. So, an auto-robot could be deployed in Galaxy’s Edge as an actual free-wandering droid! This would allow the tech to feed into the already immersive environment.
And, it doesn’t have to be limited to droids. Depending on the external theming, this kind of bot could even be used as an alien creature or technology in say, Animal Kingdom’s Pandora!
With the addition of the balance technology, it’s also possible that a bot like this could be used in a show setting or parade alongside Cast Members. We may see this sort of application first so that bots are confined to interacting with Cast Members before they’re deployed into the very social setting of the park streets. IMO, Star Wars: Galaxy’s Edge could definitely find a use for a cool autonomous droid, and maybe the upcoming Play Pavilion could have an auto-robot somewhere in a show.
This is a super-advanced technology that could be a game-changer for Disney parks. The applications could potentially be endless. We’ll be sure to keep an eye out for any more patents pertaining to our new robot friends. Hopefully one not-too-far-off day, we’ll get to meet an autonomous robot in the Disney parks!
Want to see more crazy Disney inventions? Click here!
Join the DFB Newsletter to get all the breaking news right in your inbox! Click here to Subscribe!
WE KNOW DISNEY.
YOU CAN, TOO.
Oh boy, planning a Disney trip can be quite the adventure, and we totally get it! But fear not, dear friends, we compiled EVERYTHING you need (and the things to avoid!) to plan the ULTIMATE Disney vacation.
Whether you're a rookie or a seasoned pro, our insider tips and tricks will have you exploring the parks like never before. So come along with us, and get planning your most magical vacation ever!
What do you think of these super cool innovations? Let us know in the comments!



















Our handy (and portable!) ebook guides make sure you get the best deals and can plan a vacation of a lifetime.

I’d love to see an autonomous Push come back to Tomorrowland or some other sort of other free-roaming robot walking around the land.
On the other hand, I could see where depending on how advanced these get, they could potentially replace face or costumed cast members around the parks. And while I know they won’t replace the human in “Human Resources”, the possibility is there.
This is great I cant wait for the parks to reopen. I wish I had the ability to insert some of this code into my own brain because I often feel lost around other humans. I can be pushy and insulting and get my feelings hurt very easily. I would love to a have a Disney robot flowchart in my brain that said something like Obstacle Detected… Find Safety. Or even better, My Employees are Idiots… Cut Their Pay. Or maybe… Someone Says Something I Think Is Stupid… Keep My Big Dumb Cake Hole Shut.
Our supermarket uses a wandering robot which detects spills or other obstacles that need to be cleaned up. It has a beeping sound to alert shoppers it is around, but the beep is kind of annoying. It will stop when people get too close. Will be interesting to see what Disney creates.