A semi-recent post on Wired Magazine’s website provided a round-up of new and upcoming personalized and customizable Disney parks products. The item that caught my eye was a mention of a patent that was approved this summer for an “interactive cake.”
Apparently I’m behind the times, because this story did get some play in the Disney and tech blogospheres about two years ago, when the patent was first filed. But still, the fact that the patent was actually approved is noteworthy in my book.
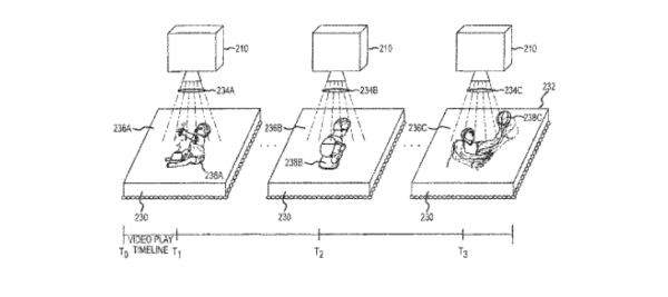
When I think “interactive cake” my mind’s eye goes to the auto-with-moving-wheels and fire-breathing-dragon sort of cakes that appear from time to time on Food Network programs like Ace of Cakes. However, the interactivity in the Disney patent appears to be limited to images, moving or otherwise, being projected onto desserts via specialized pico projectors.
Now I’m thinking the cake becomes more of a movie screen, like the water spray is the movie screen in Fantasmic. The only time I’ve seen something like that was on an episode of “Ace of Cakes” in which Duff and the gang created a multi-textured all white cake that was used as a screen during the Baltimore Contemporary Museum’s 20th birthday celebration. Film of birthday parties was shown on the birthday cake.
In this figure below (and in the patent text), it looks like Disney could take this one step further. If guests cut or otherwise alter the cake, the image will change. For example, a “river” projected onto the cake could become a “waterfall” if a piece of the cake is cut out.
So fellow foodies, I’m here to ask you: What do you think of interactive cake? Would you want to see Disney movies shown on a cake backdrop? Would you want eat a cake with an overlay of moving images of your family cavorting in the theme parks? Is this something that would appeal to you or your children? Can you imagine any other uses of projectors with cake?
Help us brainstorm in the comments below.
Erin Foster is the Disney Food for Families columnist and a behind-the-scenes guru here at Disney Food Blog! Check out more of her posts here.




Our handy (and portable!) ebook guides make sure you get the best deals and can plan a vacation of a lifetime.

Cool idea, but I’ll admit, the diagrams left my head spinning! I think this is one of those things you have to see in person to understand what it will look like. It just seems a little extreme from the diagrams – I mean, it’s cake!
That is just a little too odd for me. I can see the appeal, I can come up with uses, but it’s not for me!
this would be awesome for weddings at disney… or big birthday parties/anniversaries…
If we ever have my grandmother’s 100th birthday at WDW (I’ve suggested this, but we still have a few years to go), I would LOVE to make a highlight reel out of decades of home movies and project it on the cake.
I’m thinking of halloween applications. Cut the cake, bugs crawl out.
Dana – the diagrams are intense. I think there’s a reason I’m not a patent attorney 🙂
Jaia – You’re a cake purist!
CLD – weddings — hmmm — I like it!
Amy – such a sweet idea. You should make the film with or without the cake.
GG – um, ewwwwww. I will NOT be asking you to bring dessert to my next dinner party 😉
I love having “fun” with birthday cakes! I have done some very creative and goofy things on cakes for my family, and I am always trying to think up new things. I would definitely try this! I think it sounds really cool, especially the idea about the waterfall cascading over the side.
The main thing I think about the projection is that once you take away the piece of cake and have it on your plate, it will be plain and ordinary. This isn’t necessarily a bad thing; some people have allergies to certain food dyes. But sometimes there’s just something fun about getting to eat a nice colorful piece of cake!
Sounds cool but all I see are dollar signs, imagine how much a cake like this would cost!!