Disney has a way of bringing seemingly real magic to our experiences around the parks.
Through the use of new and innovative technology, Disney can have you waving goodbye to water, soaring through the galaxy, and riding on the back of a banshee on a different planet. All of this is made possible by Disney’s team of Imagineers. These creative geniuses design and create new ways of experiencing parks all the time. Five yet-to-come attraction designs have been patented that, if they were to come to the parks, we would shovel out all our money to experience them!
Through patents, Disney brainstorms ideas and new ride or attraction concepts. These are just potential new experiences and are not guaranteed or announced. BUT, if we saw these patents come to life, we would be running to the parks immediately.
An Interesting Boat Ride
Back in July 2021, Disney filed a patent for a “Boat Motion Simulator”. The patent officially took effect on October 25th, 2022, and is described as a ““system configured specially to impart boat-type motions (e.g., roll, sway, heave, pitch, surge, and yaw) to a passenger boat.” The boat would float on water as usual, but it will also be able to ““display imagery and a soundtrack that are synchronized with the motions imparted upon the boat.”
What is really interesting about this patent is that in one image you can see Moana and Maui on the dome screen where a show would be projected. This makes us wonder if this patent was originally for a Moana attraction when a Moana-themed land had been proposed for the Dinoland expansion in Disney’s Animal Kingdom.
Now that the Animal Kingdom “blue sky” idea has changed to include Encanto or Indian Jones, we wonder what else could be in store for this ride idea. Instead of floating by scenes like Pirates of the Caribbean, the scenes are all around you like in Flight of Passage. It also seems there would be mechanics under the boat that make it move and react to what’s happening around you.
This ride system would be a huge upgrade to the classic boat ride systems we still see today.
Moving Map Projections
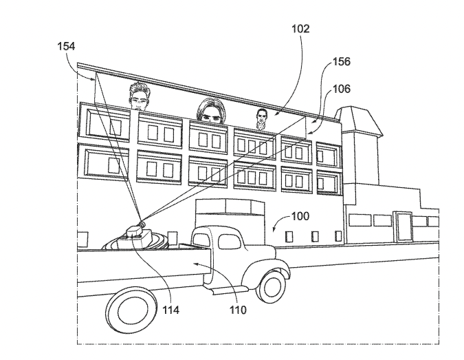
A newer Disney patent, dated March 14th, 2023, is for a piece of technology called “Relative Surface Traveling Map Projection Process.” As in, projecting onto surfaces near the traveling projector using projection mapping. This projector patent is looking to seamlessly project scenes onto buildings, screens, statues, rocks, or other things while MOVING.
We see projection-mapping all the time in Disney World. It’s how the shows fit so perfectly onto Cinderella Castle and the walls of Muppet Vision 3D. But now it appears Disney wants to be able to do that while the projector and/or the “screen” (whatever the object may be) is moving. Disney specifically mentions using it as part of something like a parade float, which you can see in the images.
This would take viewing entertainment to another level and dimension.
Suddenly Dropping Park Ride
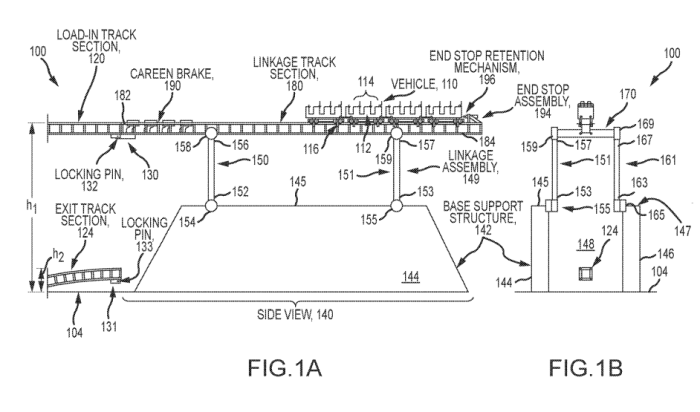
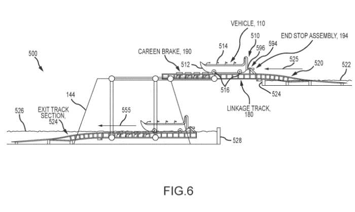
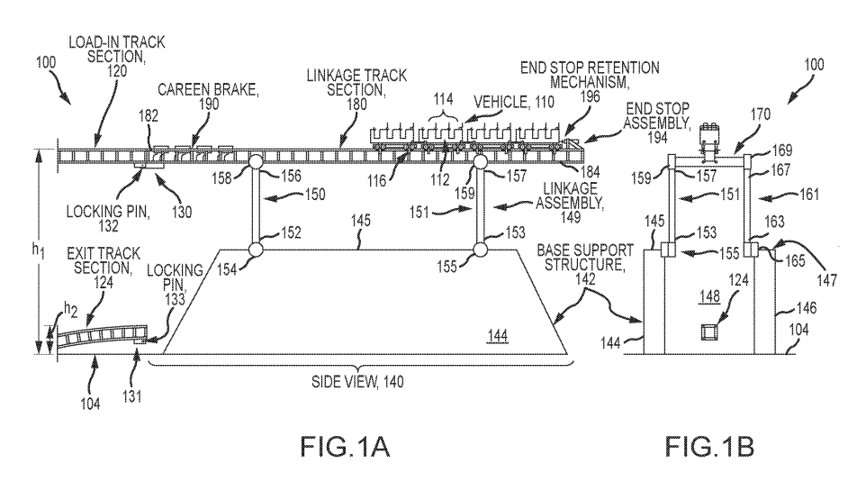
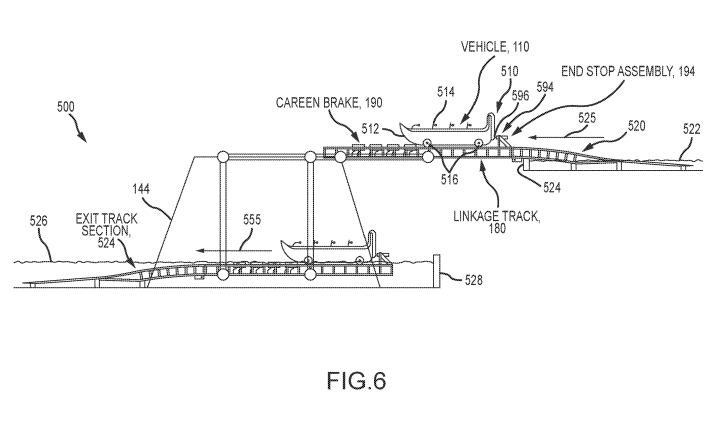
In 2022, we found a patent for a “Park Ride with Drop Swing Propulsion” The ride looks as exciting and scary as it sounds! This ride would be a normal ride with “a track defining a ride path for a passenger vehicle” that is configured “with two or four or more wheels, to roll upon and engage the track.”
But then it takes a turn (or should we say drop) for something entirely new and never seen before –it “includes a drop swing propulsion system that is adapted to drop a section of track upon which the passenger vehicle is supported from a first elevation to a second elevation that is lower than the first elevation.”
This ride would drop the track with the ride vehicle to a lower track, and then the force from the drop would propel the vehicle forward. With the new 360-degree ride vehicle roller-coaster, Guardians of the Galaxy: Cosmic Rewind, and now this, nobody can say Disney isn’t getting into thrill rides!
The patent describes, ““The new park ride design is particularly well suited for use in roller coasters, water rides, and the like in which vehicles are configured to ride or roll, at least a portion of the time, upon a track.” And it was created for the “need for a new way to surprise people when they experience a park ride or attraction they think they know such as a roller coaster, a water ride, and so on.” To say we would be utterly surprised if we started dropping from a track on a roller coaster would be an understatement. But we would pay big money to do it!
Character Robots
Several years ago, Disney filed a patent for a “Legged High-dexterity Self-balancing Capable Robot Actor.” The pictures from the patent looked very similar to the police rabbit we all know – Judy Hopps.
We also saw a robot at a D23 event that also looked very similar to Judy Hopps doing some sick tricks!
Then we saw a WALKING true-to-size Baby Groot robot with Project Kiwi!
And most recently, we saw droids roaming around Galaxy’s Edge in Disneyland!
https://twitter.com/DisneyDan/status/1712513942755451095?ref_src=twsrc%5Etfw%7Ctwcamp%5Etweetembed%7Ctwterm%5E1712513942755451095%7Ctwgr%5Ee02fb728d15fdb4252d5fe387a3174ad2c829a78%7Ctwcon%5Es1_&ref_url=https%3A%2F%2Fwww.disneyfoodblog.com%2F2023%2F10%2F12%2Fpeople-are-loving-disneys-new-wandering-droids-youve-gotta-see-why%2F
All of this to say, if Disney started having true-to-size robotic characters in the parks, we would be there in a flash!
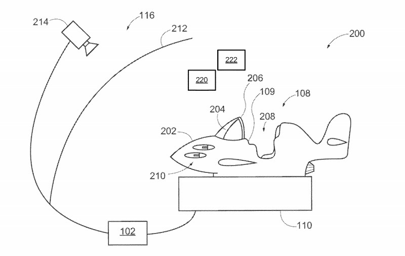
Interactive Toy
You have heard of interactive toys before, but possibly not like this. This toy, patented as an “Interactive Toy”, is not just interactive with you, but with an entire ride, you are on! Essentially, the toy and the ride could communicate to add to the attraction experience through specific reactions on either (or both) the toy and/or ride.
This could mean that an action figure you’re holding on the ride could have a reaction to the ride itself, or vice versa. It could even change the story of the ride. Whether a guest has the toy or not could, hypothetically, completely change how the ride progresses. The possibilities with this patent are truly endless and it is an amazing piece of tech that we would pay a lot of money to experience.
But, as of now, none of these have made their way (fully) into the parks. They are all still “blue sky” ideas or in their developmental and testing phases. We will have to keep waiting to experience them ourselves!
Until then, keep following DFB for more Disney news!
ALL of the Disney World Rides That Interact With MagicBand+
Join the DFB Newsletter to get all the breaking news right in your inbox! Click here to Subscribe!
WE KNOW DISNEY.
YOU CAN, TOO.
Oh boy, planning a Disney trip can be quite the adventure, and we totally get it! But fear not, dear friends, we compiled EVERYTHING you need (and the things to avoid!) to plan the ULTIMATE Disney vacation.
Whether you're a rookie or a seasoned pro, our insider tips and tricks will have you exploring the parks like never before. So come along with us, and get planning your most magical vacation ever!
Which of these experiences are you most looking forward to if they become reality? Let us know in the comments!















Our handy (and portable!) ebook guides make sure you get the best deals and can plan a vacation of a lifetime.

TRENDING NOW
Three rides are closing for refurbishment, and two hotel perks are going away starting in...
A new Bambi Loungefly collection just dropped online and we're obsessed!
Disney World just filed a new permit for the Tropical Americas transformation at Animal Kingdom!
This is exactly why we saw it's best to AVOID Disney Springs on weekends!
Grab these Loungeflys while they're on sale!
Another new pair of Minnie Ears has debuted in Disney's Hollywood Studios and this pair...
Check out all the new holiday popcorn buckets coming to Disney World this year!
Disneyland just launched the newest and most colorful name tags for Cast Members! Read about...
Disneyland has announced an expansion! Check out the details here!
Disney’s Animal Kingdom is loved for its immersive theming, wildlife, and thrilling attractions, but for...
Was Disney being sneaky with these Dining Plan snack credits?
Big news for frequent Disney World hotel inhabitants AND haters of bar soap -- pump...
Disney just announced that a Hallmark Christmas movie will be filming on property this holiday...
Some things at Disneyland are going to cost more now.
Your next new Loungefly will be online soon!
If you're headed to Disneyland in 2025, you'll want to know about these closures.
You can give the gift of Disney food this holiday season!
Love National Geographic? Then this new Disney Visa cardmember perk is PERFECT for you!
Sangria University is changing at Disney World and we've got all the details!
We found one of the most unexpected souvenirs in Disney World!! Check it out here!