Disney World is constantly changing.
The Happily Ever After fireworks are coming back, new things are coming soon to EPCOT, and even character meals have changed. But more adjustments could be on the way and we’ve got some clues as to what those could be!
Cinderella Castle
First up, we’ve gotta talk about our girl Cinderella and her castle in Magic Kingdom. Back in 2020, Disney shared that the Castle would be getting a HUGE makeover all in honor of the 70th anniversary of Cinderella. As part of the transformation, the Castle ended up getting a pink paint scheme and gold touches.
Then, as part of the 50th Anniversary, the Castle got special adornments on the turrets and other spots to make it very clear that the celebrations were underway. But could the Castle be changing again soon? It might!
The 50th Anniversary is about to end — it only lasts through March 31st — and certain parts of the 50th celebrations are already disappearing. Plus, Disney has released an updated Castle toy set which does NOT have the 50th decor but does have the pink paint scheme. But now we’ve got another clue about potential work that could be done to the Castle soon.
Disney recently filed 2 Notices of Commencement that indicate some construction could soon begin near Cinderella Castle. One permit was recorded on March 9th, 2023 for “general construction” at 1400 Magic Kingdom Dr. When searched on a special map, it appears this address matches up with Cinderella Castle itself!
Unfortunately, the permit doesn’t really tell us much other than that “general construction” will be done by the “Coastal Steel” contractor. We actually saw this contractor listed on a permit from 2020 also for Cinderella Castle. By that point in 2020, the pink paint job had been completed, but the 50th decor had not yet arrived.
This 2023 permit could indicate that some structural changes are coming to the Castle or perhaps it’ll just be just the general removal of the 50th Anniversary decor on the Castle (or it could be for something else entirely). The permit isn’t set to expire until March 8th, 2024 however (which was a specific date put in by Disney) so the work could be a bit more extensive.
Next up, a permit was recorded on March 7th, 2023 for “electrical work” at 1000 Tunnel Wy. When you look this up on a map of building addresses, it looks like this corresponds to the Fantasyland tunnel that runs from the Castle to Fantasyland near Prince Charming Regal Carrousel.
Again, there isn’t much in terms of details here except that the work will be done by Colwill Engineering Electrical, Inc. and that a unique expiration date has not been specified so it’ll automatically expire 1 year from the date of recording.
This tunnel appears to be underground and not accessible to guests, but still, the electrical work from that permit coupled with the “general construction” on the Castle could mean some changes will hit this area soon.
Keep in mind that Disney hasn’t confirmed just what will happen with the Castle after the 50th Anniversary ends, but we’ll be on the lookout for more details.
Click here to learn about the BEST 50th Anniversary experience that is NOT going away!
Projections
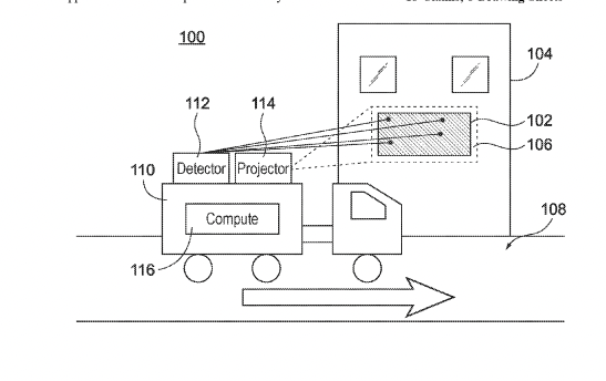
Next up, we’ve got to tell you about a Disney patent that could bring some exciting changes to the theme parks. Patent No. 11,605,320 B1 was applied for by Disney Enterprises, Inc., and dated March 14th, 2023. It’s for something called “Relative Surface Travelling Map Projection Process.” That’s a lot of words, so let’s break it down.
Basically, the patent is for a specific method that can be used to project things from a MOVING projector. Why is this necessary? Well, according to Disney, there are projection systems used in a variety of contexts. They are sometimes even used in theme parks to supplement real-world entertainment (like when they incorporate projections with animatronic motions or have projections that correspond to a specific location within a ride).
But Disney points out that most projection systems are static and are set up so that they project on a predetermined location. Even projectors that can project onto multiple locations usually require the projector to remain in one place.
But what if you want your projections to be a bit more dynamic? What if you want your projection location to change AND you want the projector itself to be able to move to update that projection location? Well, Disney’s new technology could make that happen!
This new tech could actually analyze things to identify the surface it’ll project something on, determine the position of the projector relative to that surface, and even modify the frame of some content that’ll be projected based on the surface and the position of the projector. It can then determine more positions and modify other frames of the content.
The patent notes that the projection system would basically include the vehicle, the detector on the vehicle, and the projector. What’s really neat is that the projector itself may be moveable and configured to project onto 1 or more surfaces from DIFFERENT project locations (so it could project while moving relative to the projection surface).
Disney specifically notes that the system on the moving projector could project content onto an object. That object might be a building, a screen, a statue, rocks, or other things. The object might be stationary OR the object might be moveable. Disney specifically notes that this could include something like a parade float!
What content could we see projected? As an example, Disney notes that it could include still images or a series of images, movies, or something else. And the content might be synchronized to music!
So while projections down Main Street, U.S.A. and on the Castle during fireworks shows are things you’ve likely come to expect, projections could become much more dynamic in the future.
How do you think this could change entertainment at the Disney parks? Tell us in the comments!
We’ll continue to keep an eye out for other unique Disney technology or potential clues for future changes, so stay tuned for all the latest news!
Click here to see some brand NEW robot technology Disney recently debuted!
Join the DFB Newsletter to get all the breaking news right in your inbox! Click here to Subscribe!
WE KNOW DISNEY.
YOU CAN, TOO.
Oh boy, planning a Disney trip can be quite the adventure, and we totally get it! But fear not, dear friends, we compiled EVERYTHING you need (and the things to avoid!) to plan the ULTIMATE Disney vacation.
Whether you're a rookie or a seasoned pro, our insider tips and tricks will have you exploring the parks like never before. So come along with us, and get planning your most magical vacation ever!
What do you think about these potential changes? Tell us in the comments.










Our handy (and portable!) ebook guides make sure you get the best deals and can plan a vacation of a lifetime.

TRENDING NOW
Disney's biggest news from this week has us HUNGRY!
Add these six Disney essentials to your cart on Amazon before the prices go up!
We have a Disney World transportation HACK that may save your vacation!
Fans in their 50s don't go to Disney World without these essentials!
It's official! These are the 26 Disney Loungefly bags that will be everywhere in 2026.
If you're at Disney's BoardWalk and NOT stopping at this unique bar, you're missing out!
We have a CLOSING DATE for Rock 'n' Roller Coaster starring Aerosmith in Hollywood Studios!
Being stylish doesn't have to break the bank, thanks to these Amazon deals!
Circle these dates in your EPCOT-themed calendars! 2026 is shaping up to be a big...
Disney filed several permits just as 2025 was ending.
If you can only go to ONE Disney World restaurant in 2026…here’s the cheat code.
Frozen Ever After is closing for a new refurbishment that will make you want to...
This the THE Starbucks drink we'll be ordering again and again.
We rounded up seven of our current favorite Disney souvenirs straight from Amazon, Target, and...
The U.S. Department of State revised its travel guidance for Jamaica.
We found the biggest Disney deal on Amazon today, but it won't last long!
A NEW Disney World hotel is opening in 2027, and we're breaking down everything we...
This Magic Kingdom announcement has left us a bit confused!
TWO new Magic Key Holder popcorn buckets arrive in Disneyland Resort SOON!
While you will always find guests at Disney World, these are the periods of time...