Disney might have a big thing with mice, but they’re big on the duck scene too.
Sure, you’ve got Donald Duck, but you’ve also got alllllll the ducks who reside in the Disney parks. We love those little guys! Now, Disney has invented some new tech that’s seriously amazing — but all we can focus on is the duck in the pictures. What does this waterfowl MEAN?
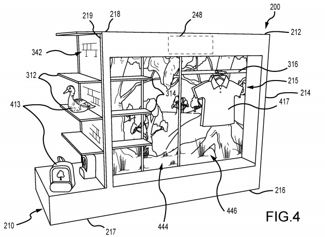
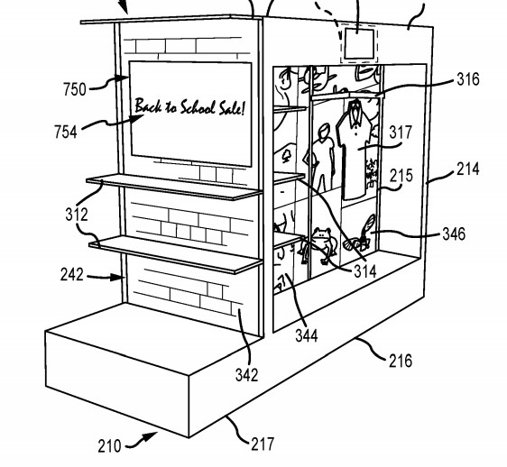
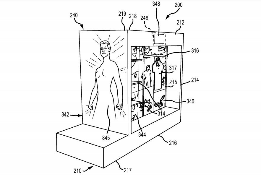
Today, we spotted a new patent filing for “Networked Smart Fixtures Supporting Visual Merchandise Designers with Remote Monitoring, Control, and Programming.” You’ve seen smart TVs but you HAVEN’T seen smart merchandise displays (quite like this) in stores!
This tech would get rid of the humdrum shelves we’re used to seeing and replace them with something that has more PIZZAZZ. Think, you’re shopping for a new Mickey plush of your choice on a display that features LCD screens, moving posters, and magically appearing signs — plus sound and lighting elements!
Typically, merchandise displays are spruced up with some lighting elements and physical elements that are mailed to stores to be assembled. This new tech would give a designer in one location access to redesign and reprogram merch displays across the country to coordinate with what is being sold. Not only does it make that designer’s job a whole lot easier, but it can also make for some pretty cool displays.
The backdrops of the display could change with the touch of a button to coordinate with the products.
The end cap could be converted to feature a magic, moving movie poster of the latest Disney film…
…hidden screens could be used to announce sales…
…and MORE!
But wait (record scratch, freeze frame), is that a DUCK?
Okay, yes the tech is very cool, but we just have one question for you, Disney. In what world is there a duck on the shelves? Does this patent imply that we’re going to be able to walk into our local Disney store and pick up a real live duck!? Is it a stuffed duck!? What Disney movie features ducks so heavily?
And FURTHERMORE, WHY did Disney use these scary masks and an AX as mock-up merchandise for this patent? We’re so confused. Typically Disney illustrates their new tech selling teddy bears or something. Ducks and ax murderers? The inventors must have been having a DAY.
In seriousness, it’s unlikely that the mock-up products illustrated in the patent have anything to do with what these displays will be selling in real life. But, it sure is funny that the tech illustrators just tossed a duck and an ax on the shelves.
Our shopping experience could look pretty different if we start to see this invention roll out in stores, and we’re excited to see it if it happens! As always, stay tuned to DFB for all the latest Disney tech updates!
Click here to learn more about the activities of Disney ducks!
Join the DFB Newsletter to get all the breaking news right in your inbox! Click here to Subscribe!
WE KNOW DISNEY.
YOU CAN, TOO.
Oh boy, planning a Disney trip can be quite the adventure, and we totally get it! But fear not, dear friends, we compiled EVERYTHING you need (and the things to avoid!) to plan the ULTIMATE Disney vacation.
Whether you're a rookie or a seasoned pro, our insider tips and tricks will have you exploring the parks like never before. So come along with us, and get planning your most magical vacation ever!
What Disney invention intrigues you the most? Let us know in the comments below.













Our handy (and portable!) ebook guides make sure you get the best deals and can plan a vacation of a lifetime.

TRENDING NOW
The Garden View Lounge is reopening at Disney's Grand Floridian Resort on March 19th and...
Disney just announced the performers for the Garden Rocks Concert Series at the 2026 EPCOT...
Another Passholder magnet is on the way, and this one’s going to go fast!
We just had a classic go-to dish at the Magic Kingdom!
Take a look at the menu coming to the Garden View Lounge -- Tea Experience!
You need to check out these Disney items available at a great price on Amazon!
We're alerting you to a weird bathroom problem that we're hoping Disney World fixes soon!
Traveling to the "Most Magical Place on Earth" may get a bit more complicated in...
You NEED to see this new exclusive Loungefly on Amazon!
Universal Orlando is closing one of its rides in 2027.
One small Disney trick could save you more than you think.
Here are three Disney World essentials we don't go to the parks without.
These shoes are cheap, comfy, and PERFECT for Disney World!
A very popular Disney World restaurant is about to have a big construction problem!
We love Disney merch as much as anyone, but some souvenirs have officially crossed into...
This is something we've been wanting for a while!
Southwest Airlines is having a sale! You can snag tickets for as low as $59...
Disney World is getting ready to change in some MAJOR ways… AGAIN. And while we’re...
We can't get enough of these Disney Valentine's finds!
Disney World has released some questionable souvenirs.