Though the Disney water parks remain closed, that hasn’t stopped Disney from working behind the scenes to enhance the experience at a water park!
Blizzard Beach and Typhoon Lagoon both have some awesome tube slides, and the lines can get pretty long. Well, Disney’s new water slide BRAKE technology could mean shorter lines in the long run!
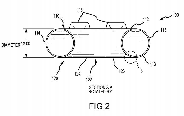
We love checking out new Disney tech and we recently spotted a patent for a “water slide tube with braking while hydroplaning.” That’s right, this tube can slow itself down, even when it’s skimming across the top of the water at a high speed! These tubes are designed with drag-increasing additions to help slow to a stop.
Disney notes in the patent that the reason lines get so long for some water slides is that a new guest cannot get on the slide until the guest at the bottom disembarks. This means that the longer it takes for a tube to stop at the bottom of a slide, the longer it takes for the line to move. With brakes, these tubes could help to significantly increase the throughput of tube water slides!
It’s always SO interesting seeing the tech that Disney comes up with! Who knew that water slides needed breaks? It’ll be interesting to see if we start seeing tubes replaced with these new models in the Disney water parks or elsewhere in Disney World. You know we’ll be sure to report in if we spot them!
Click here to find out which Disney World water park we think is BETTER!
Join the DFB Newsletter to get all the breaking news right in your inbox! Click here to Subscribe!
WE KNOW DISNEY.
YOU CAN, TOO.
Oh boy, planning a Disney trip can be quite the adventure, and we totally get it! But fear not, dear friends, we compiled EVERYTHING you need (and the things to avoid!) to plan the ULTIMATE Disney vacation.
Whether you're a rookie or a seasoned pro, our insider tips and tricks will have you exploring the parks like never before. So come along with us, and get planning your most magical vacation ever!
What do you think of these new water slide brakes? Tell us in the comments!




Our handy (and portable!) ebook guides make sure you get the best deals and can plan a vacation of a lifetime.

TRENDING NOW
If you're a big fan of classic Disney movies, these five Loungefly bags are PERFECT...
I think these Disney Brooks shoes will make you run extra fast!
The Cinderella Castle repainting has started.
This will be added to our Disney World packing list ASAP!
While you will always find guests at Disney World, these are the periods of time...
You're going to become obsessed with these new Loungefly bags!
We have a Disney World transportation HACK that may save your vacation!
We have a first look at the map for Disney's updated park.
There’s a reason Earl of Sandwich at Disney Springs is always busy.
You NEED these essential items for your next Disney World vacation!
Things are about to change in Disneyland, and that could cause a problem.
We share recommendations for delicious Disney World dining options you can enjoy without a park...
If you're flying to Disney World in 2026, do not book a flight for this...
Disney CEO Bob Iger recently posted photos from the future site of Disneyland Abu Dhabi.
Add these six Disney essentials to your cart on Amazon before the prices go up!
We’ve rounded up some Disney-friendly items that we genuinely think are worth grabbing right now.
You need to check out these Disney items available at a great price on Amazon!
Gideon's Bakehouse just dropped a huge announcement!
If you're in the thick of planning out your 2026 Disney World vacation, we've gotta...
Disney World is changing the game for the Dining Plan in 2026 and we don't...